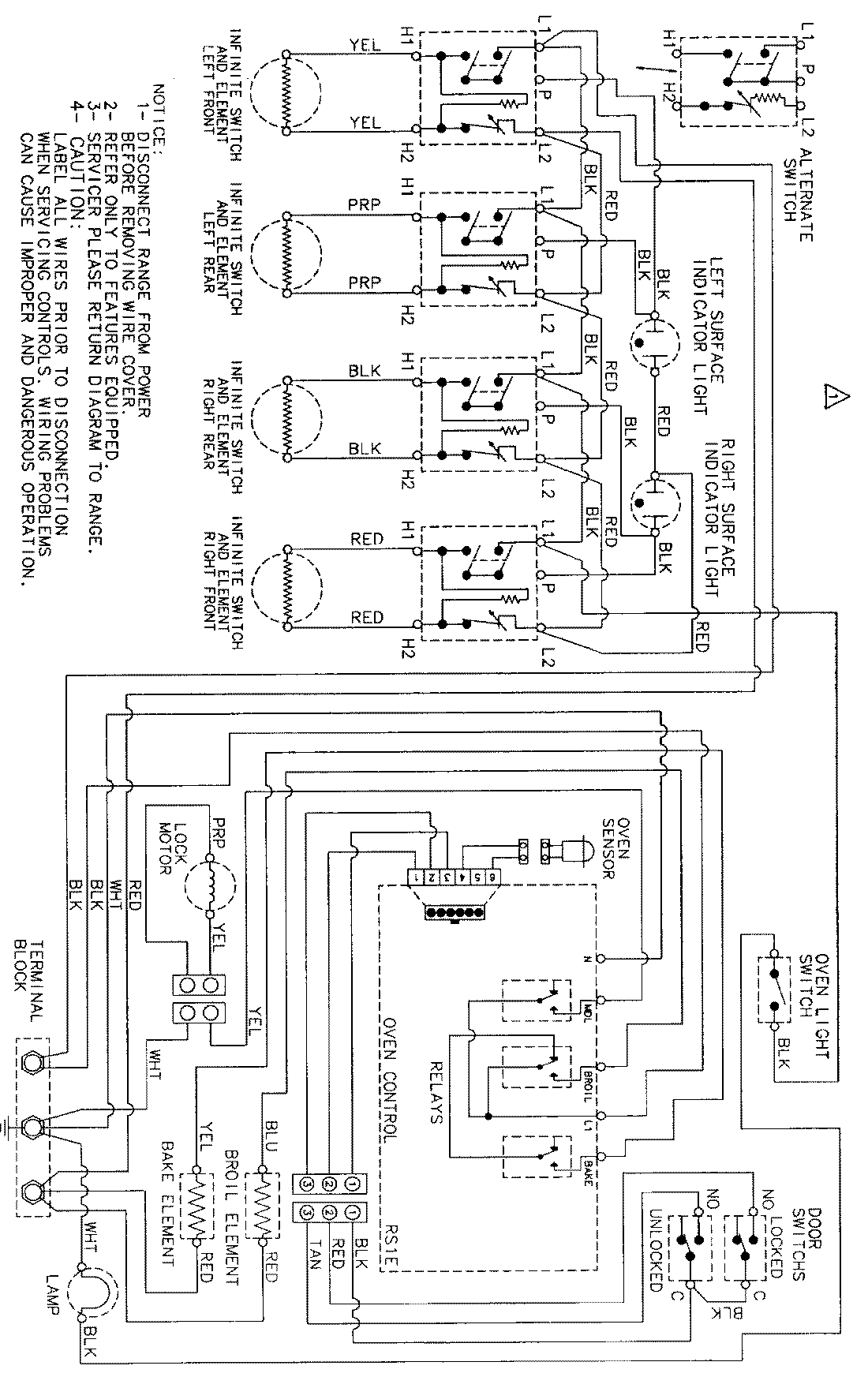
MER5550AAA 06 – WIRING INFORMATIONadmin2025-04-26T09:10:17+00:00MER5550AAA 06 – WIRING INFORMATION ProductsPositionProductNIMAY 15002274