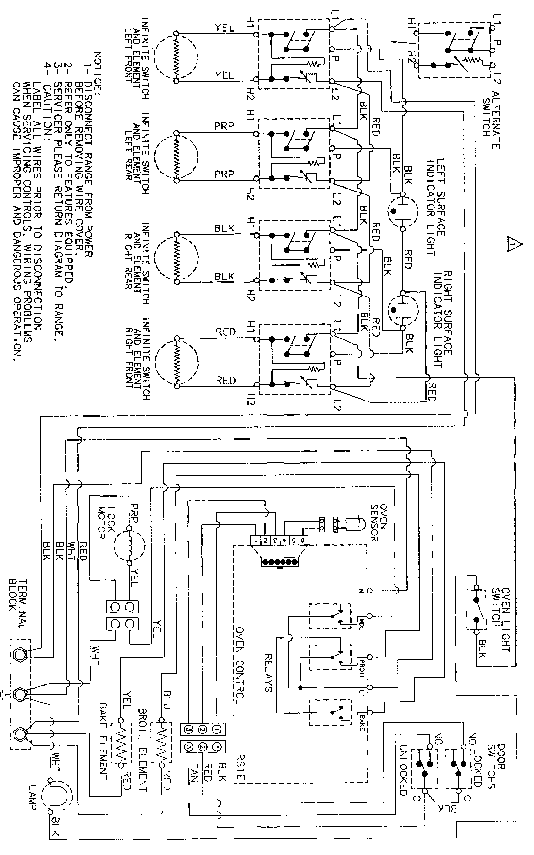
MER5550AAL 06 – WIRING INFORMATIONadmin2025-04-26T09:10:26+00:00MER5550AAL 06 – WIRING INFORMATION ProductsPositionProductNIMAY 15002274