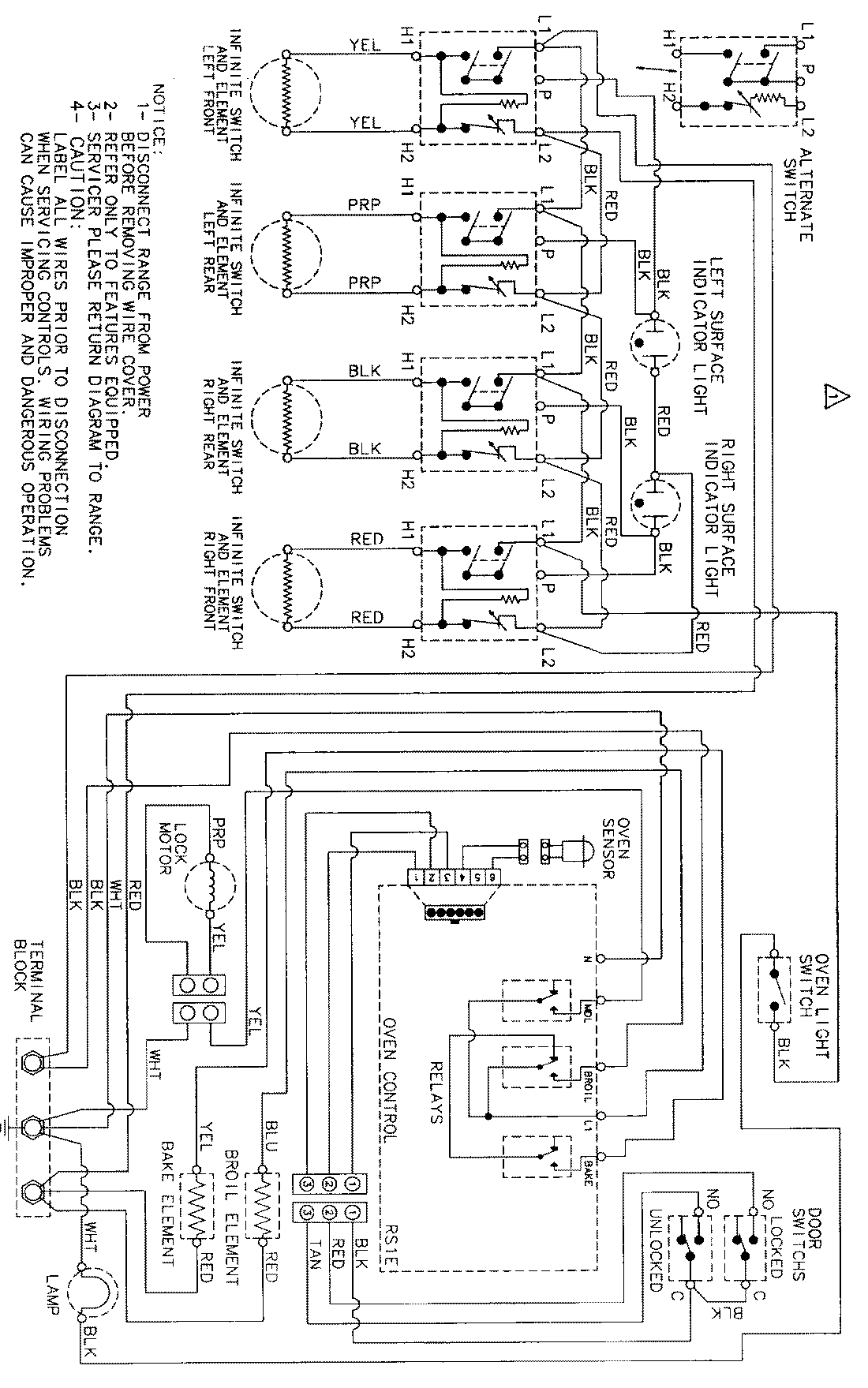
MER5550AAT 06 – WIRING INFORMATIONadmin2025-04-26T09:10:21+00:00MER5550AAT 06 – WIRING INFORMATION ProductsPositionProductNIMAY 15002274