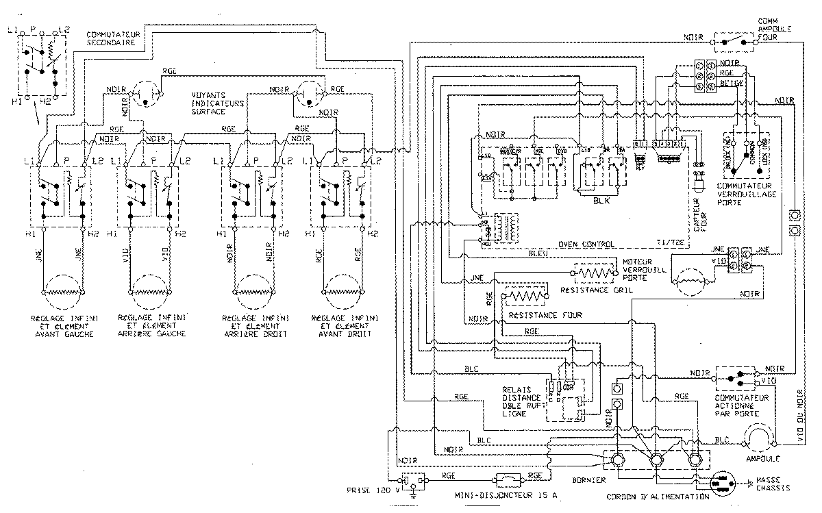
MER5570BCQ 08 – WIRING INFORMATIONadmin2025-04-26T09:10:07+00:00MER5570BCQ 08 – WIRING INFORMATION ProductsPositionProductNIMAY 15002778NIMAY 15003092