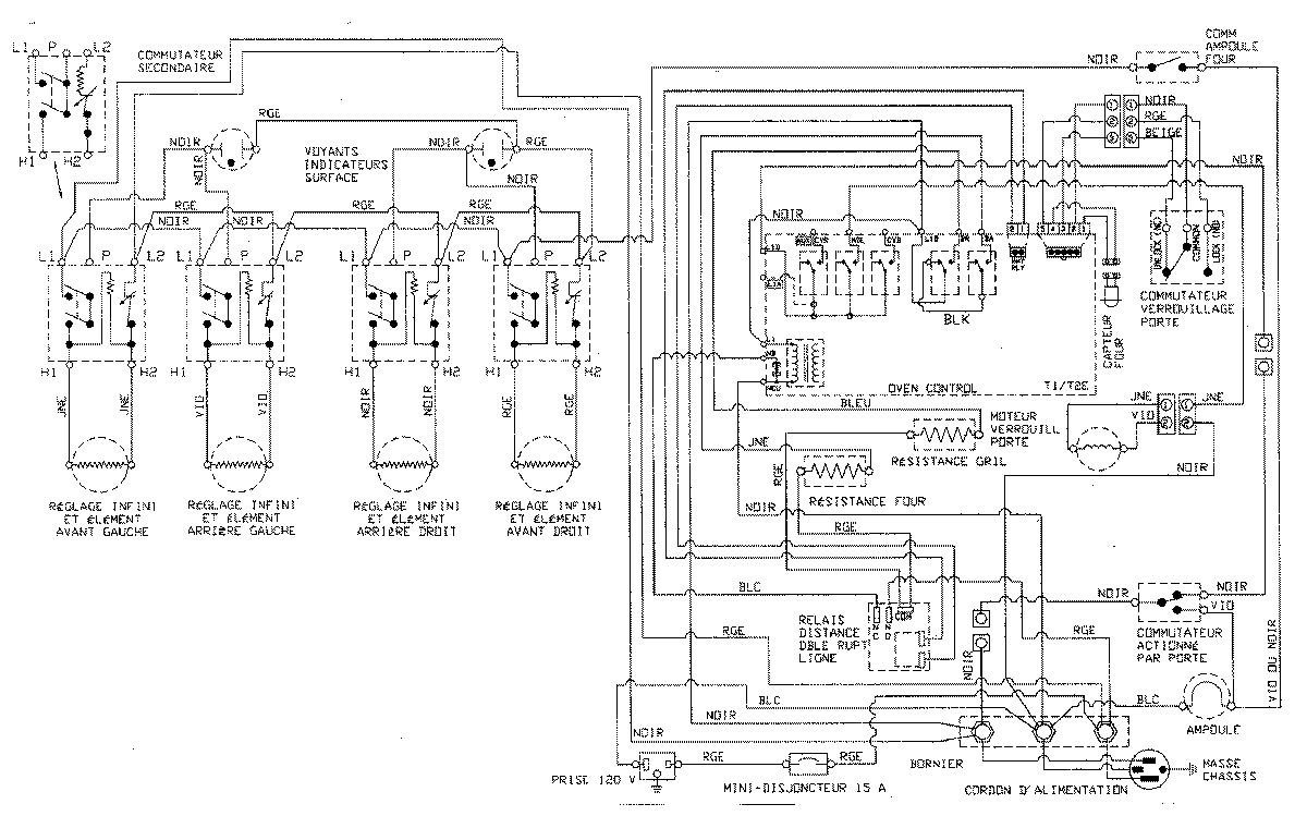
MER5570BCW 08 – WIRING INFORMATIONadmin2025-04-26T09:11:12+00:00MER5570BCW 08 – WIRING INFORMATION ProductsPositionProductNIMAY 15002778NIMAY 15003092