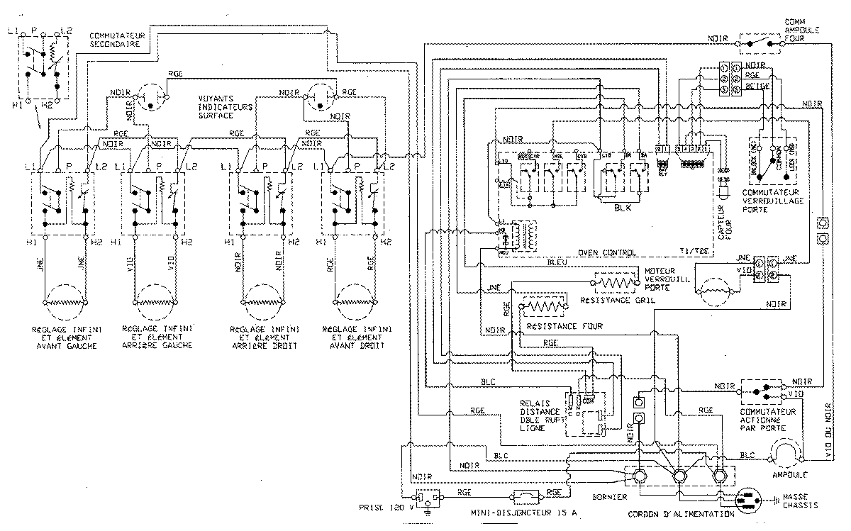
MER6770AAB 07 – WIRING INFORMATIONadmin2025-04-26T09:15:13+00:00MER6770AAB 07 – WIRING INFORMATION ProductsPositionProductNIMAY 15002778