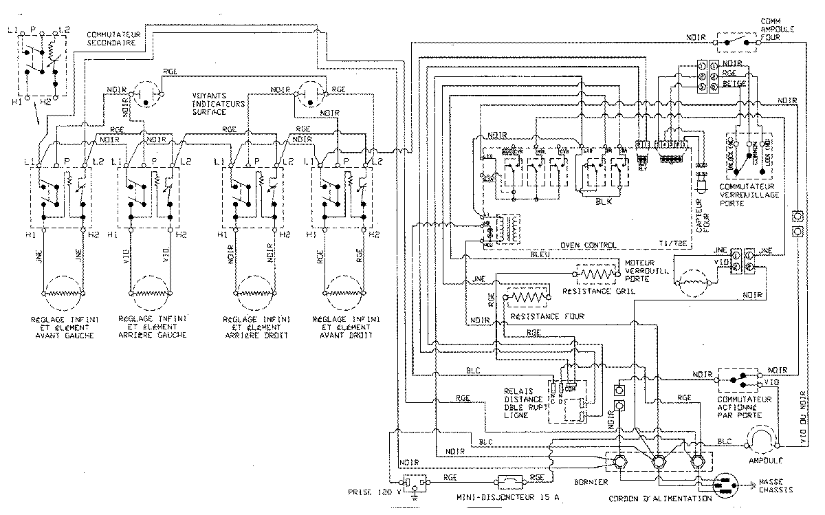
MER6770AAQ 07 – WIRING INFORMATIONadmin2025-04-26T09:13:48+00:00MER6770AAQ 07 – WIRING INFORMATION ProductsPositionProductNIMAY 15002778