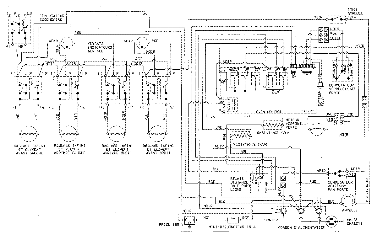
MER6770AAW 07 – WIRING INFORMATIONadmin2025-04-26T09:14:06+00:00MER6770AAW 07 – WIRING INFORMATION ProductsPositionProductNIMAY 15002778