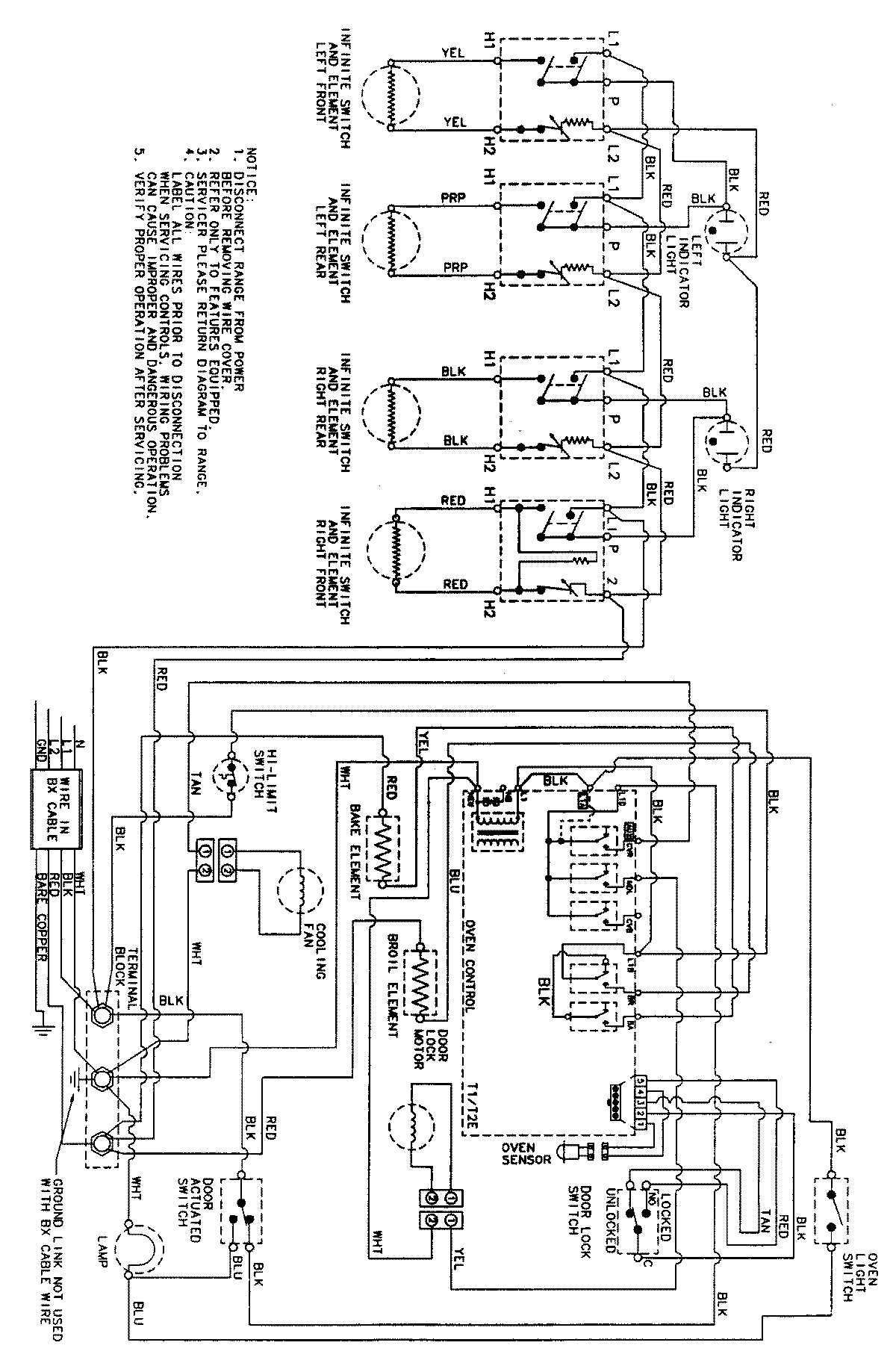
MES5570AAB 05 – WIRING INFORMATIONadmin2025-04-26T08:55:00+00:00MES5570AAB 05 – WIRING INFORMATION ProductsPositionProductNIMAY 15002569NIMAY 15003356