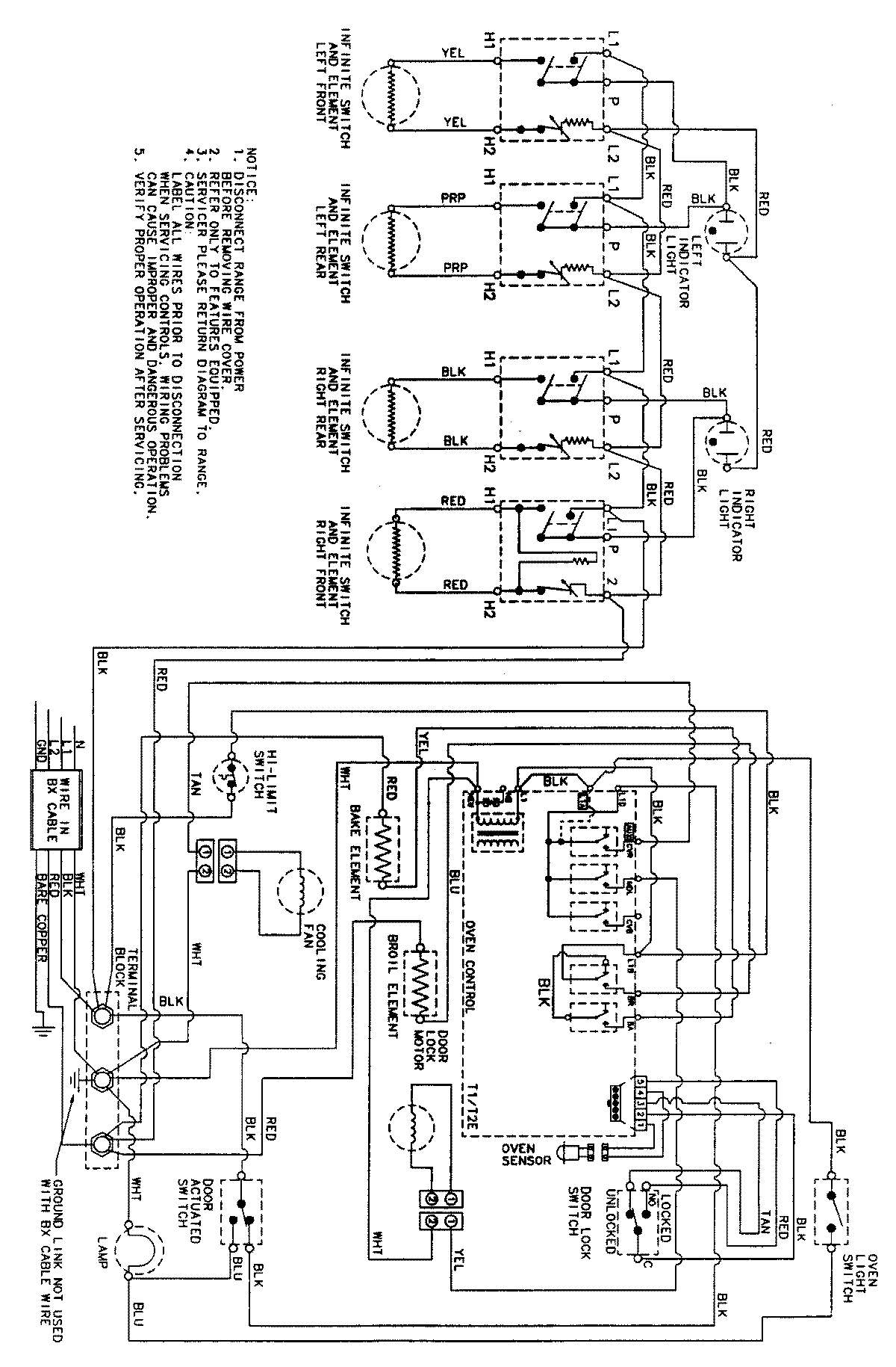
MES5570AAW 05 – WIRING INFORMATION

MES5570AAW 05 – WIRING INFORMATION

Products

PositionProduct
NIMAY 15002569
NIMAY 15003356