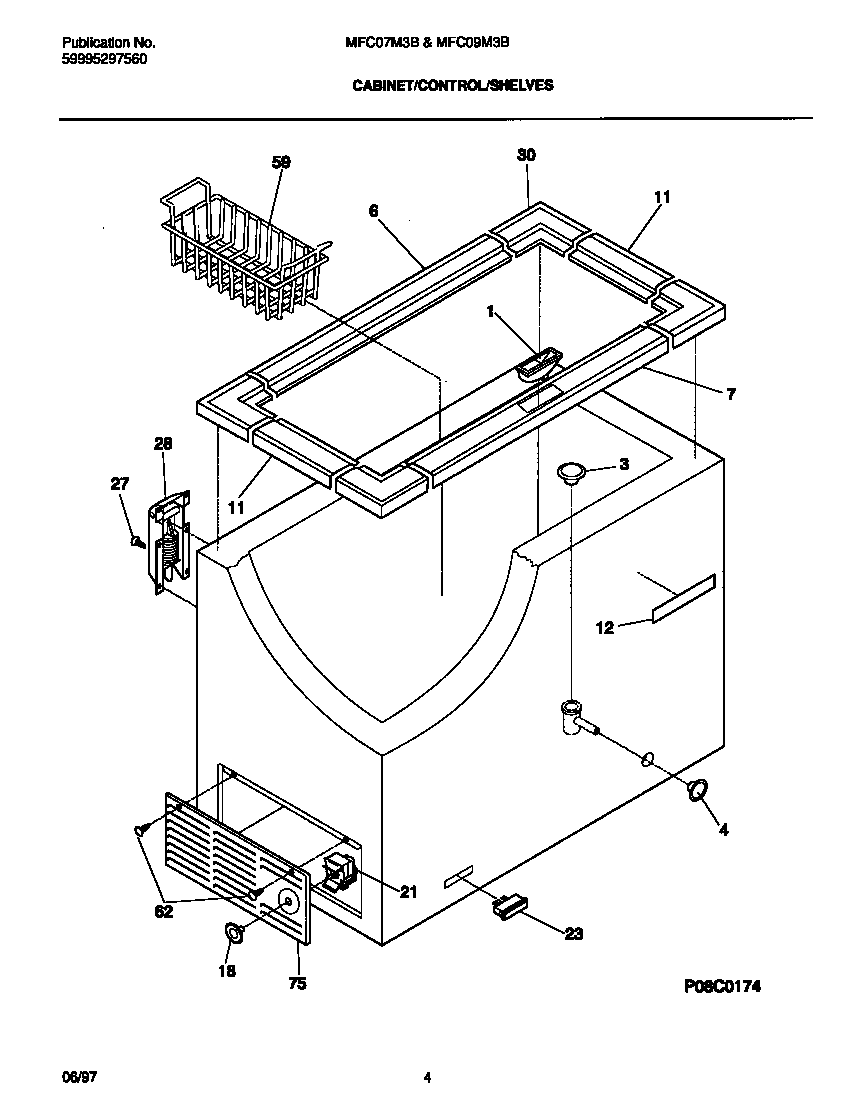
MFC07M3BW4 03 – CABINET/CONTROL/SHELVESadmin2025-04-26T09:24:19+00:00MFC07M3BW4 03 – CABINET/CONTROL/SHELVES ProductsPositionProduct*528815303321319 Frigidaire Refrigerator White Touch Up Paint1CATCH-LOCK4WCI 2160739006WCI 2161128007WCI 21611290011WCI 21610560012WCI 21637300018WCI 21603450521WCI 21635680027216337701 Frigidaire Refrigerator Screw28WCI 21647880030WCI 21610550059216848200 Frigidaire Refrigerator Basket62131168200 Frigidaire Dryer Screw75WCI 216329402