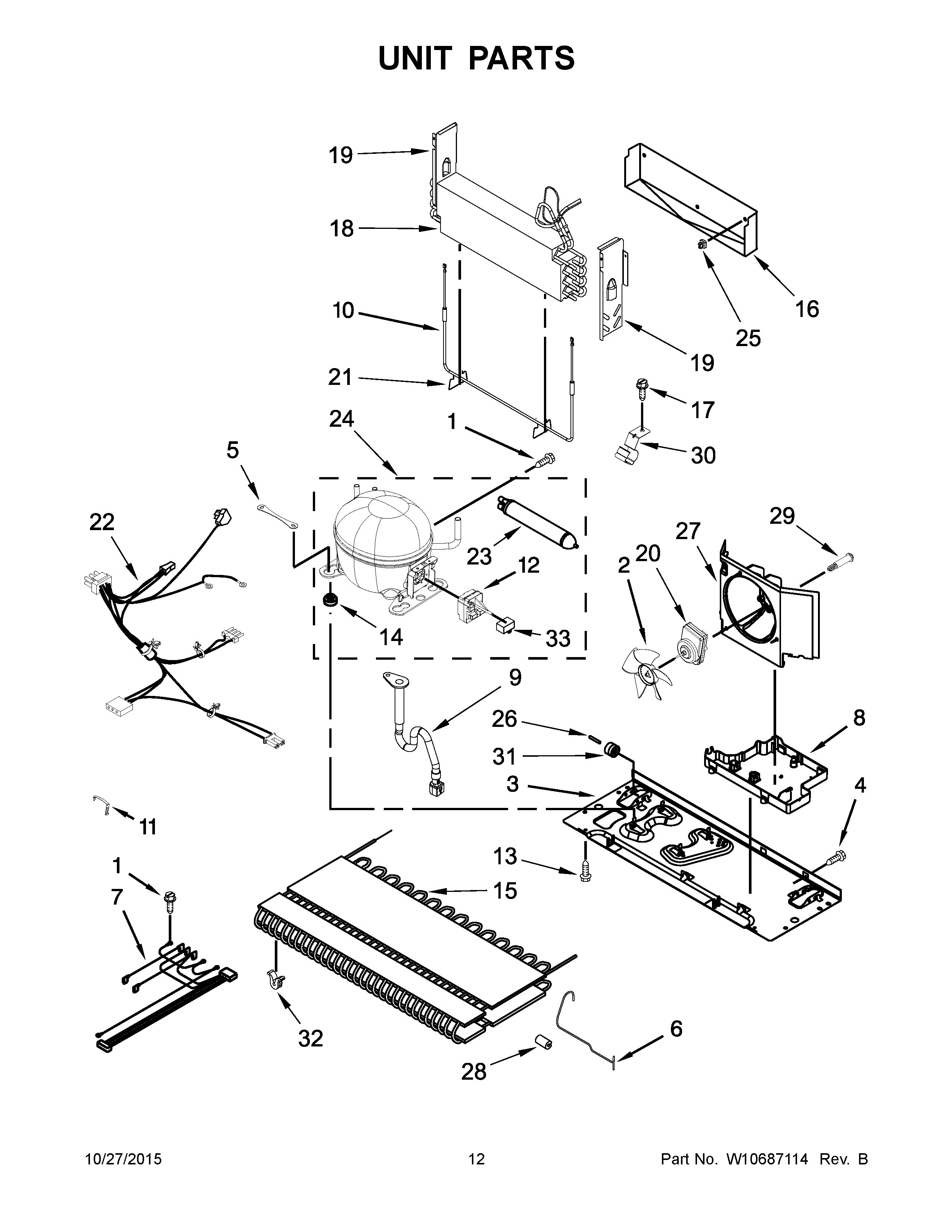
MFF2558DEE00 07 – UNIT PARTS