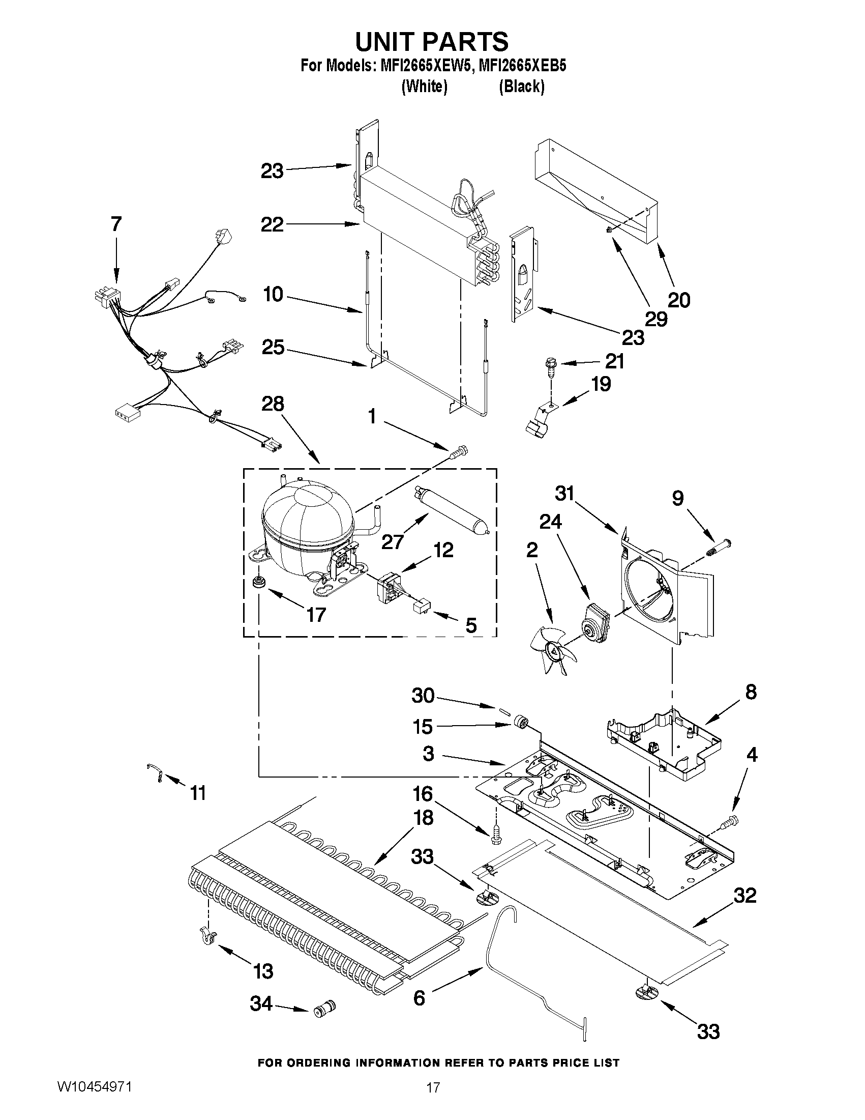
MFI2665XEB5 09 – UNIT PARTS