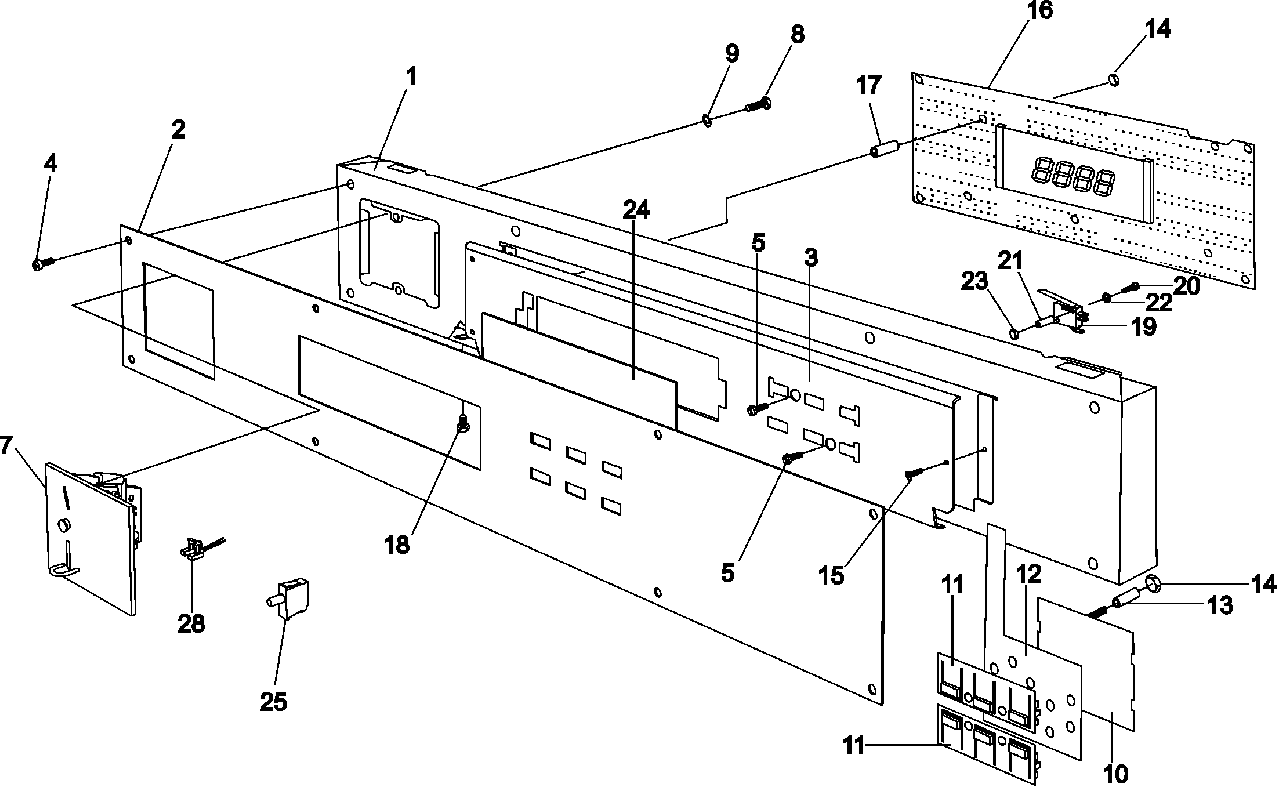
MFR18PDAVS 13 – CONTROL PANEL