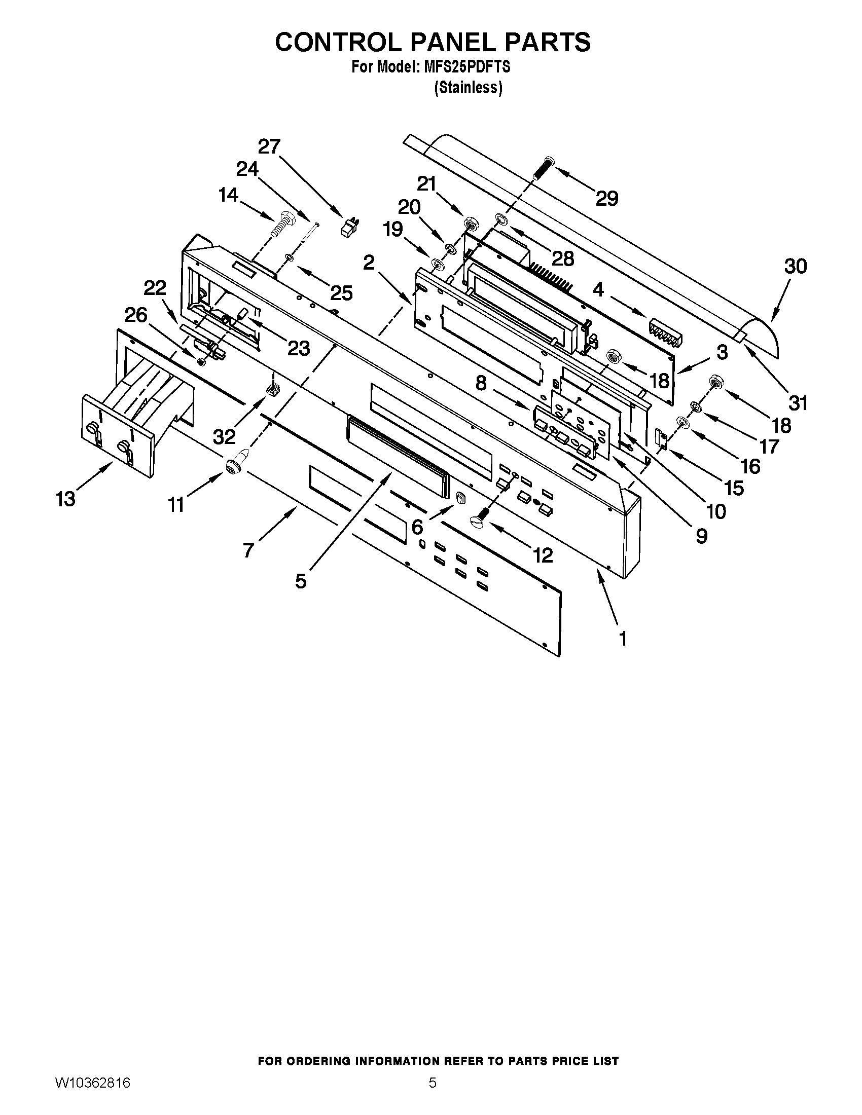
MFS25PDFTS 04 – CONTROL PANEL PARTS