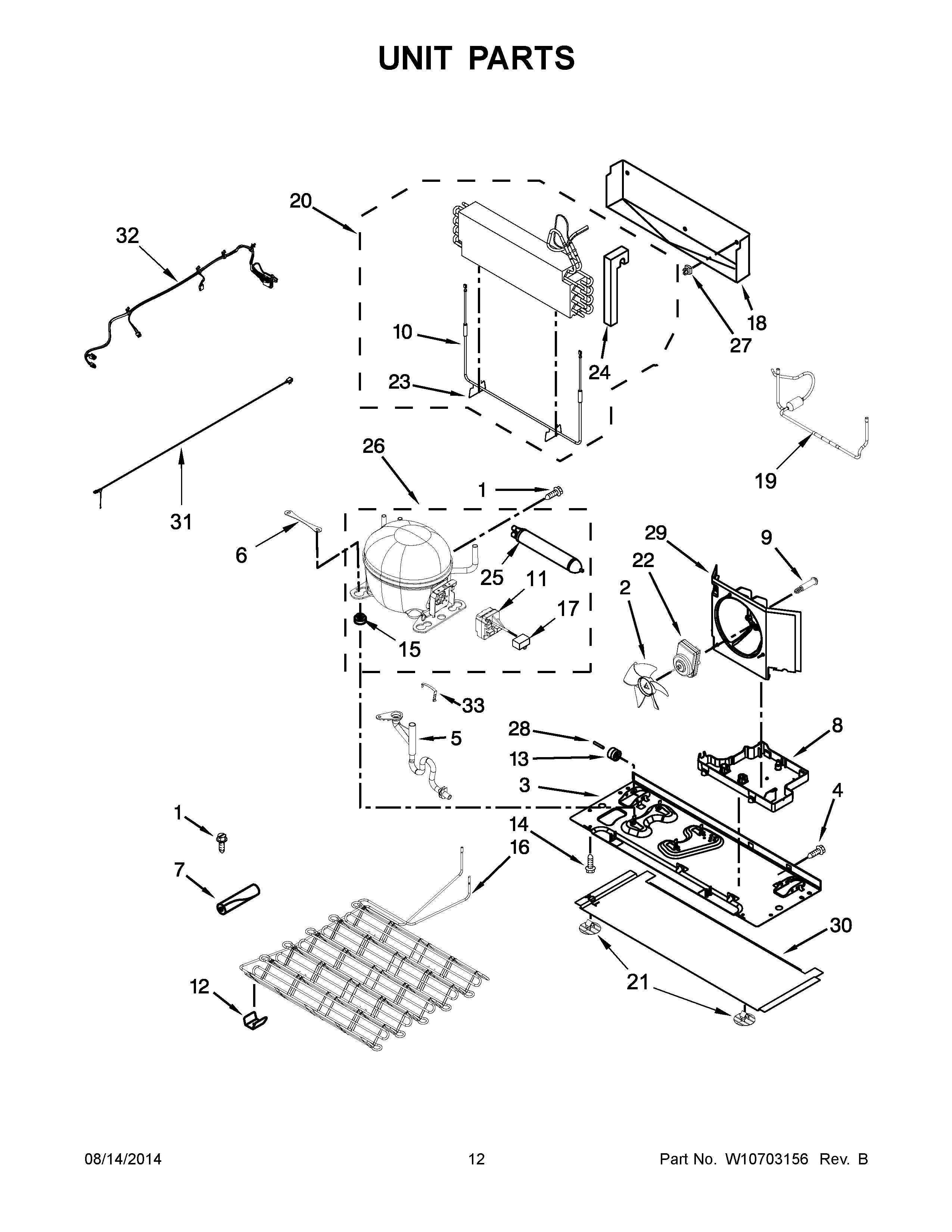
MFT2574DEM00 07 – UNIT PARTS