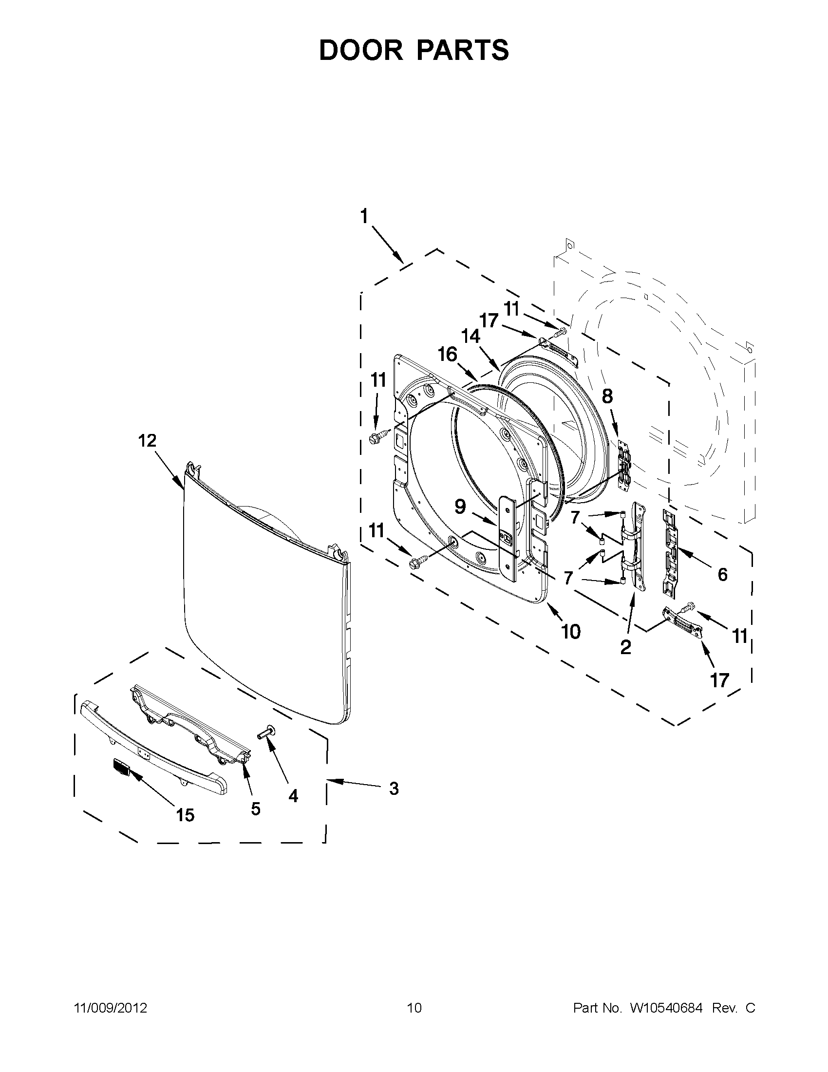
MGD6000AG0 05 – DOOR PARTS