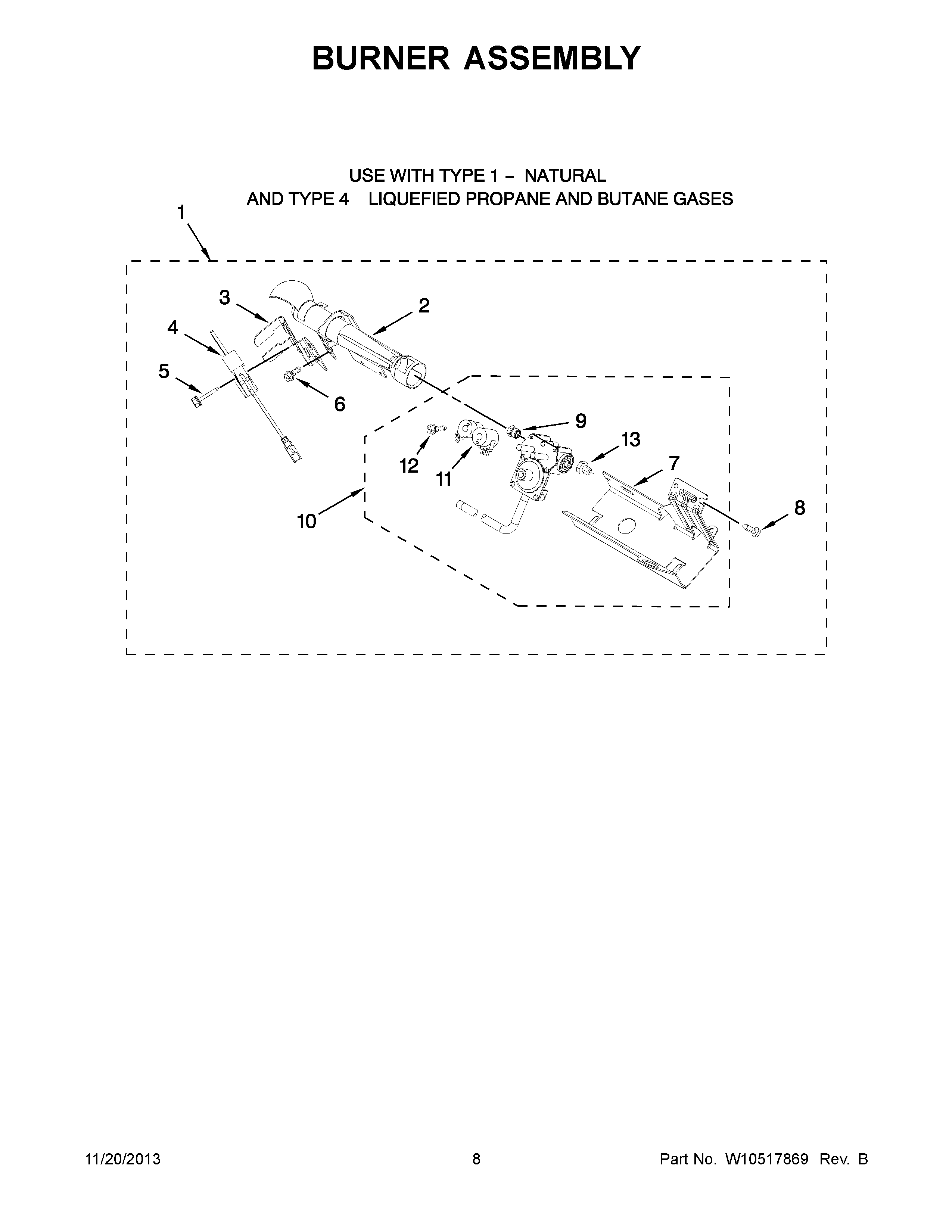
MGDB850YG2 05 – BURNER ASSEMBLYadmin2025-04-26T11:31:07+00:00MGDB850YG2 05 – BURNER ASSEMBLY ProductsPositionProductNICONVERSION KITNILINER (NOT A SERVICEABLE PART)1MAY W103987422MAY 85730103MAY 6942984MAY 6865905MAY 33939096SCREW7MAY W101838238SCREW9ORIFICE, BURNER (TYPE 1 (NATURAL))9Orifice, Burner (Type 4 (Propane))10MAY W1030460611MAY W1036826813MAY W10295523