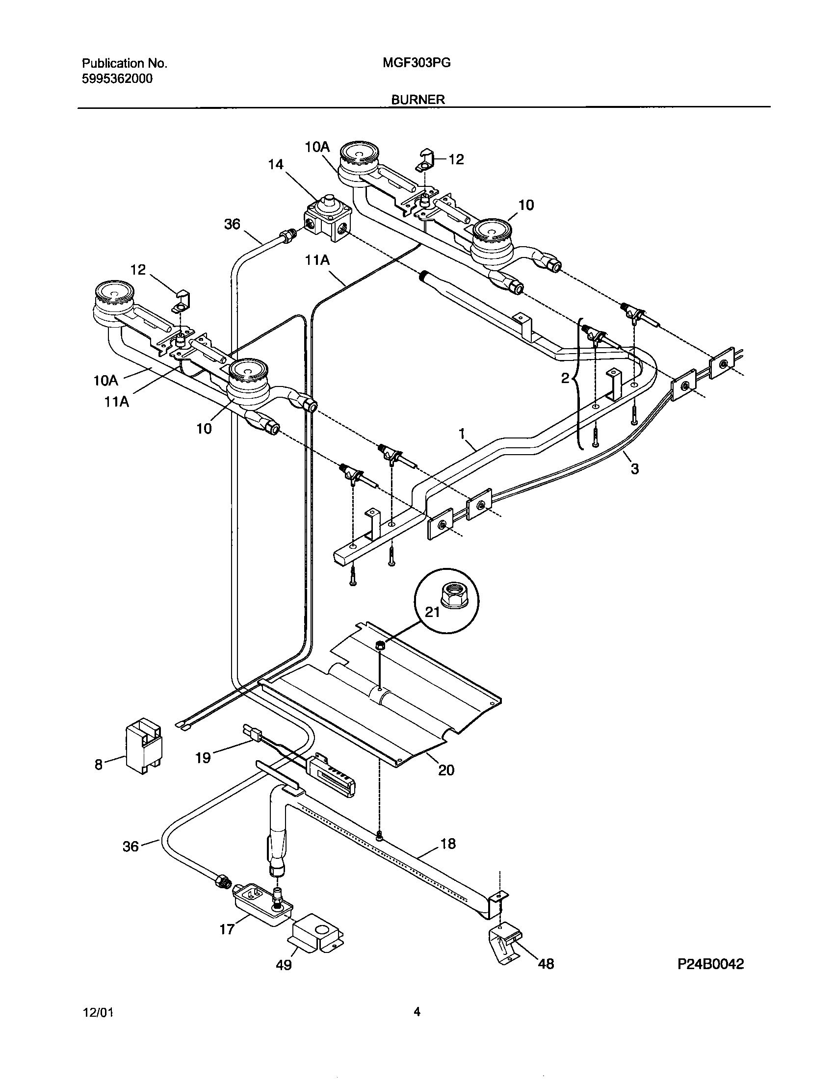
MGF303PGDL 05 – BURNER