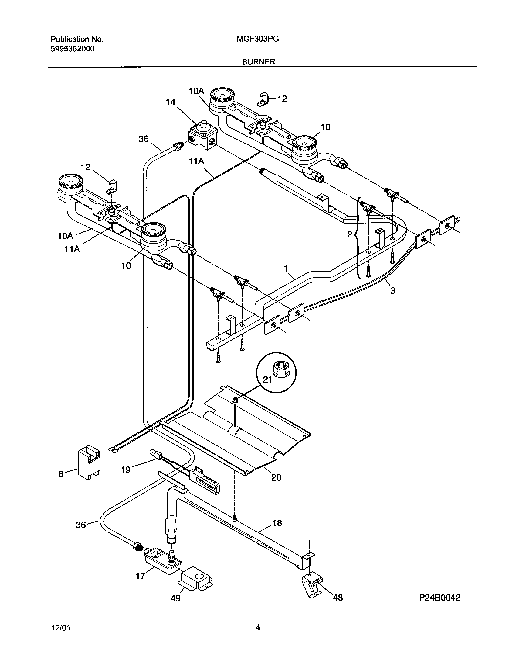
MGF303PGWK 05 – BURNER