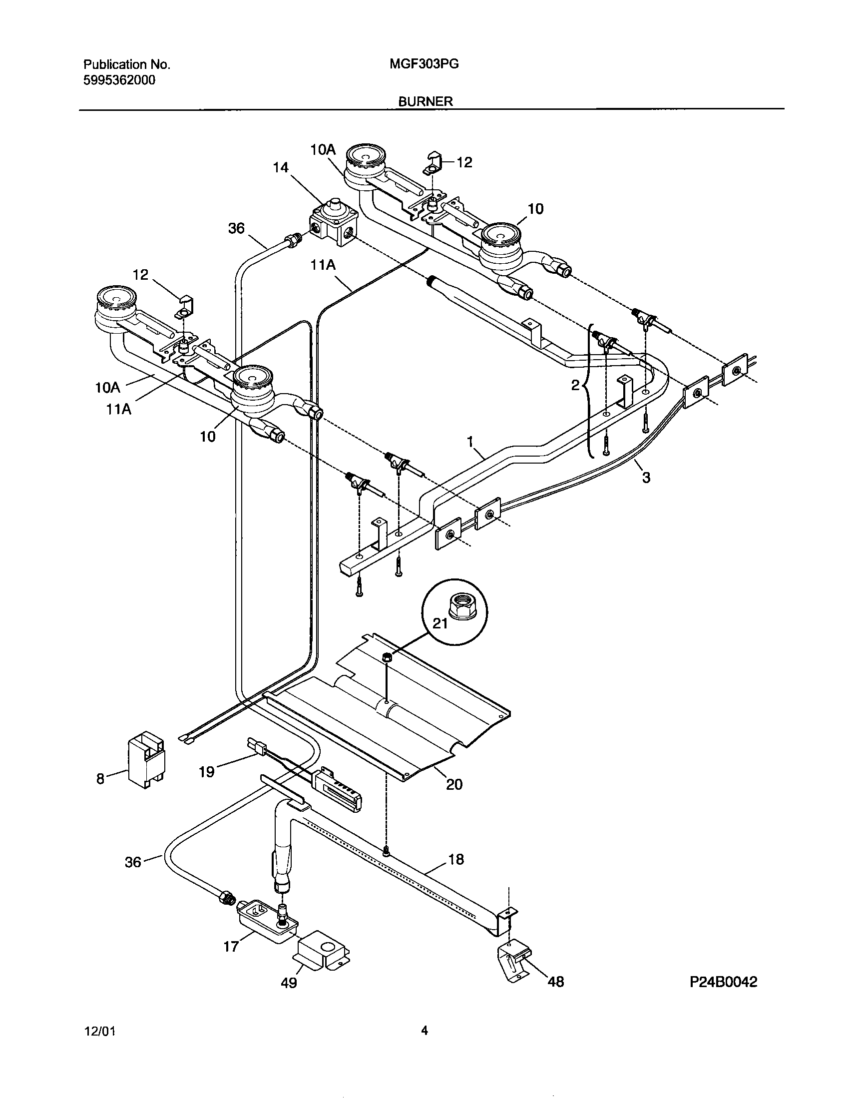
MGF303PGWL 05 – BURNER