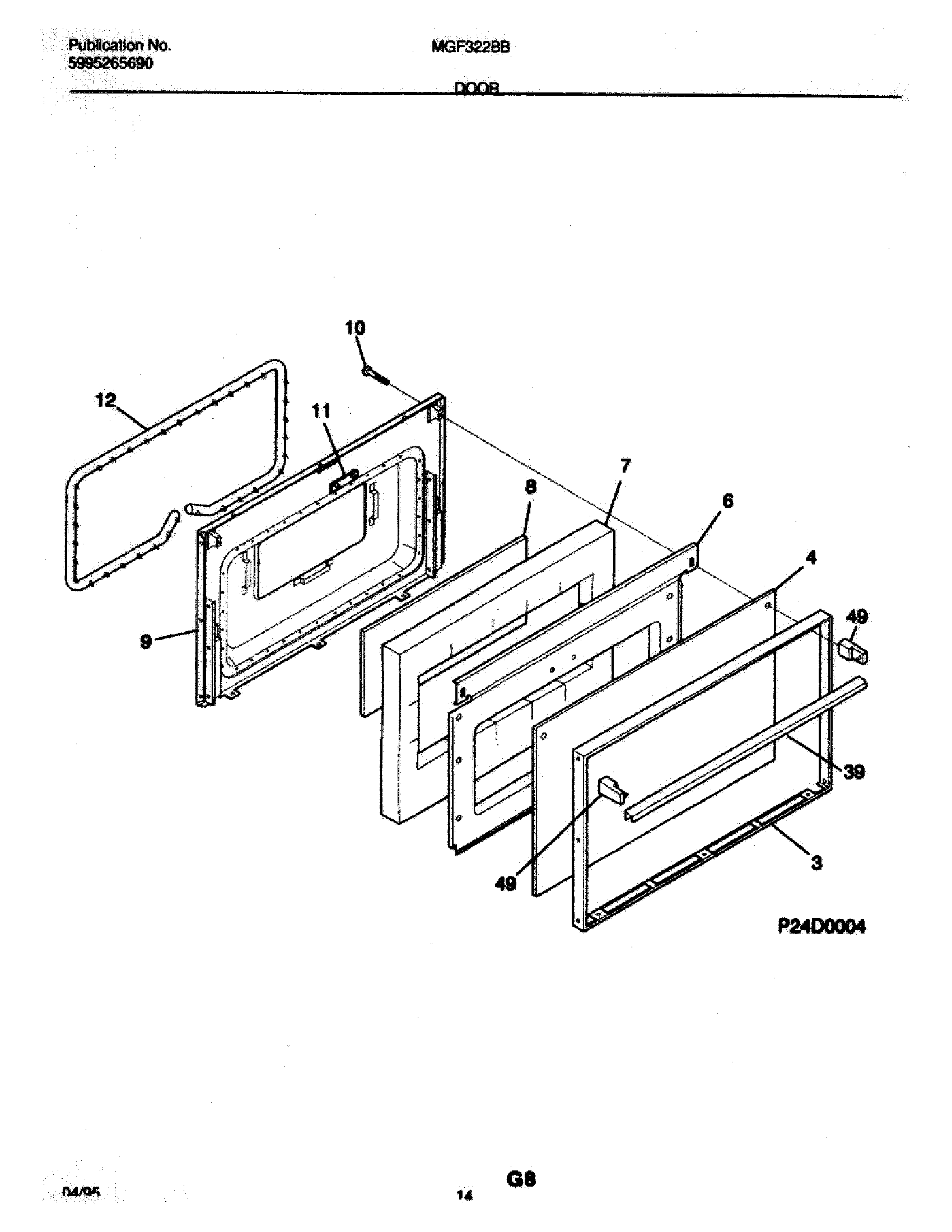
| RIVET-POP, WARING-PLATE |
| WCI 5303280311 |
| WCI 316071600 |
| SCREW, CR PAN HD SEMS, 8-32BP X 1.00 |
| WCI 316065300 |
| 3 | WCI 316067802 |
| 4 | GLASS-OVEN DOOR, BLACK, OUTER |
| 6 | SHIELD-INSULATION |
| 7 | WCI 316076401 |
| 8 | WCI 316050303 |
| 9 | WCI 316066603 |
| 10 | SCREW-HANDLE MTG, WAFER HEAD, 10-24(F) X 3 |
| 11 | WCI 5303015373 |
| 12 | 5303202011 Frigidaire Door Seal |
| 39 | HANDLE-DOOR, OVEN |
| 49 | 316137003 Frigidaire Range / Cooktop End Cap |