| *88052 | SCREW, CR PAN HD SEMS, 8-32BP X 1.00 |
| *88054 | WCI 5303269859 |
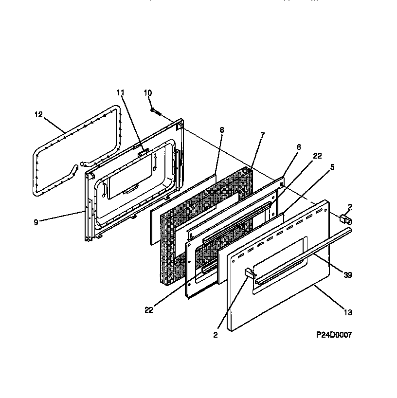
| *88053 | 5303271648 Frigidaire Oven Screw |
| *88051 | WCI 316071600 |
| 2 | END CAP, WHITE, (2) |
| 5 | WCI 316050300 |
| 6 | SHIELD-INSULATION |
| 7 | INSULATION-OVEN DR |
| 8 | WCI 316050303 |
| 9 | WCI 316066603 |
| 10 | SCREW-HANDLE MTG, WAFER HEAD, 10-24(F) X 3 |
| 11 | WCI 5303015373 |
| 12 | 5303202011 Frigidaire Door Seal |
| 13 | PANEL, OVEN DOOR, WHITE |
| 22 | Retainer,glass ,(2) ,angle |
| 39 | 316020202 Frigidaire Door Handle Assembly |