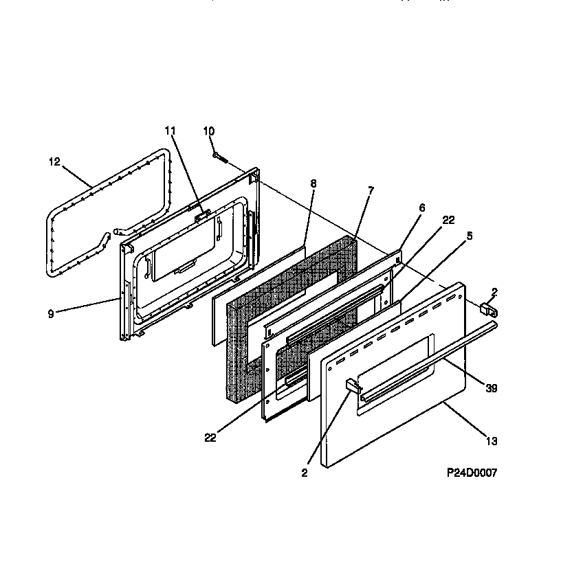
MGF345CBSA 07 – DOOR