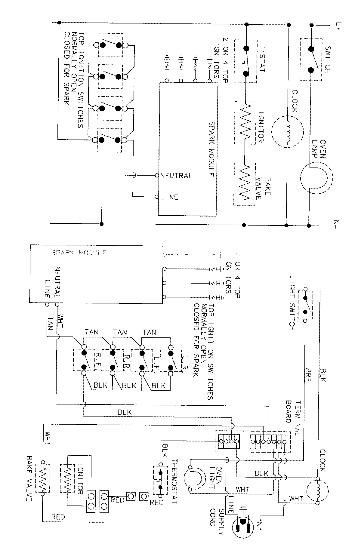
MGR1320ADA 05 – WIRING INFORMATIONadmin2025-04-26T11:31:47+00:00MGR1320ADA 05 – WIRING INFORMATION ProductsPositionProductNIMAY 15001767