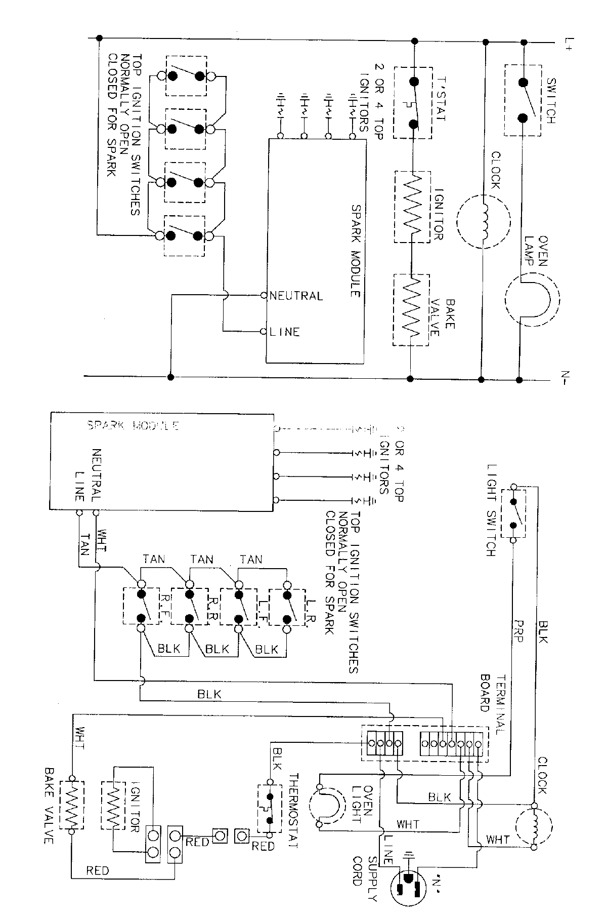
MGR1320BDW 07 – WIRING INFORMATIONadmin2025-04-26T11:31:12+00:00MGR1320BDW 07 – WIRING INFORMATION ProductsPositionProductNIMAY 15001767