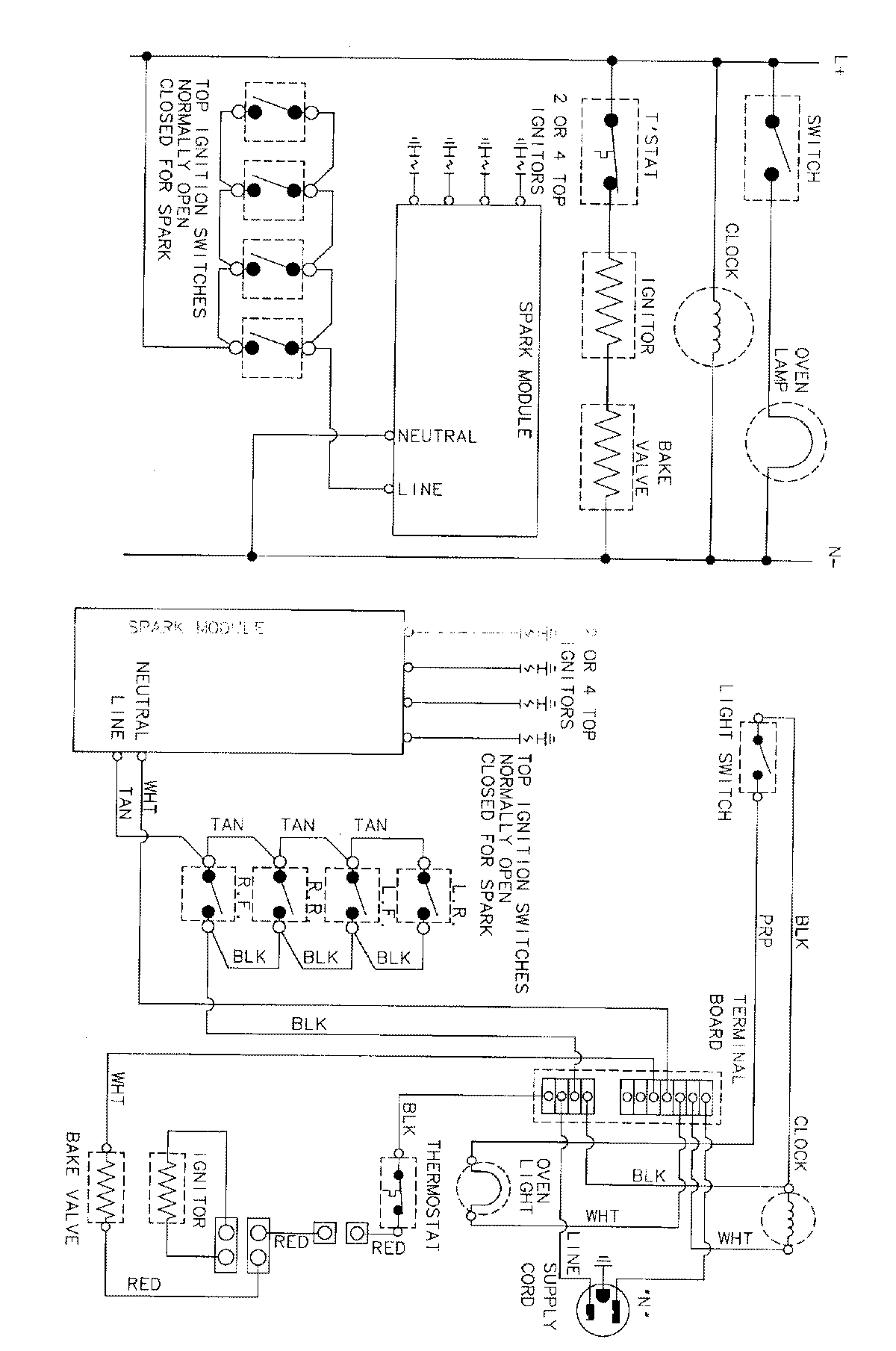
MGR2320ADA 05 – WIRING INFORMATIONadmin2025-04-26T11:33:28+00:00MGR2320ADA 05 – WIRING INFORMATION ProductsPositionProductNIMAY 15001767