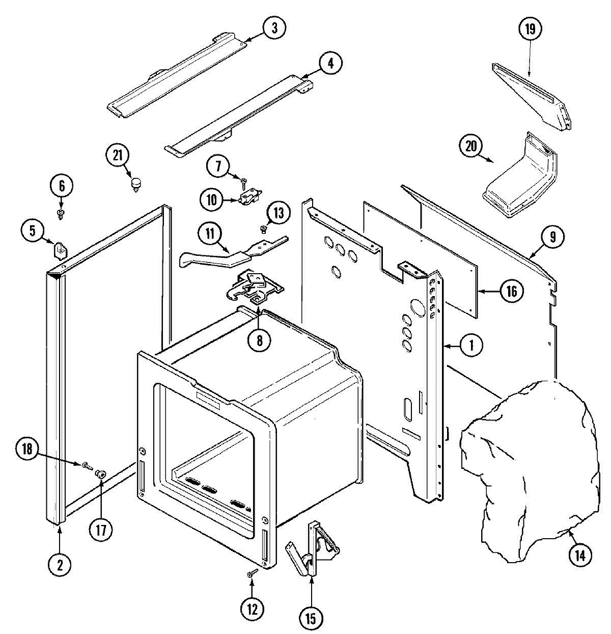
MGR5730BDW 01 – BODY