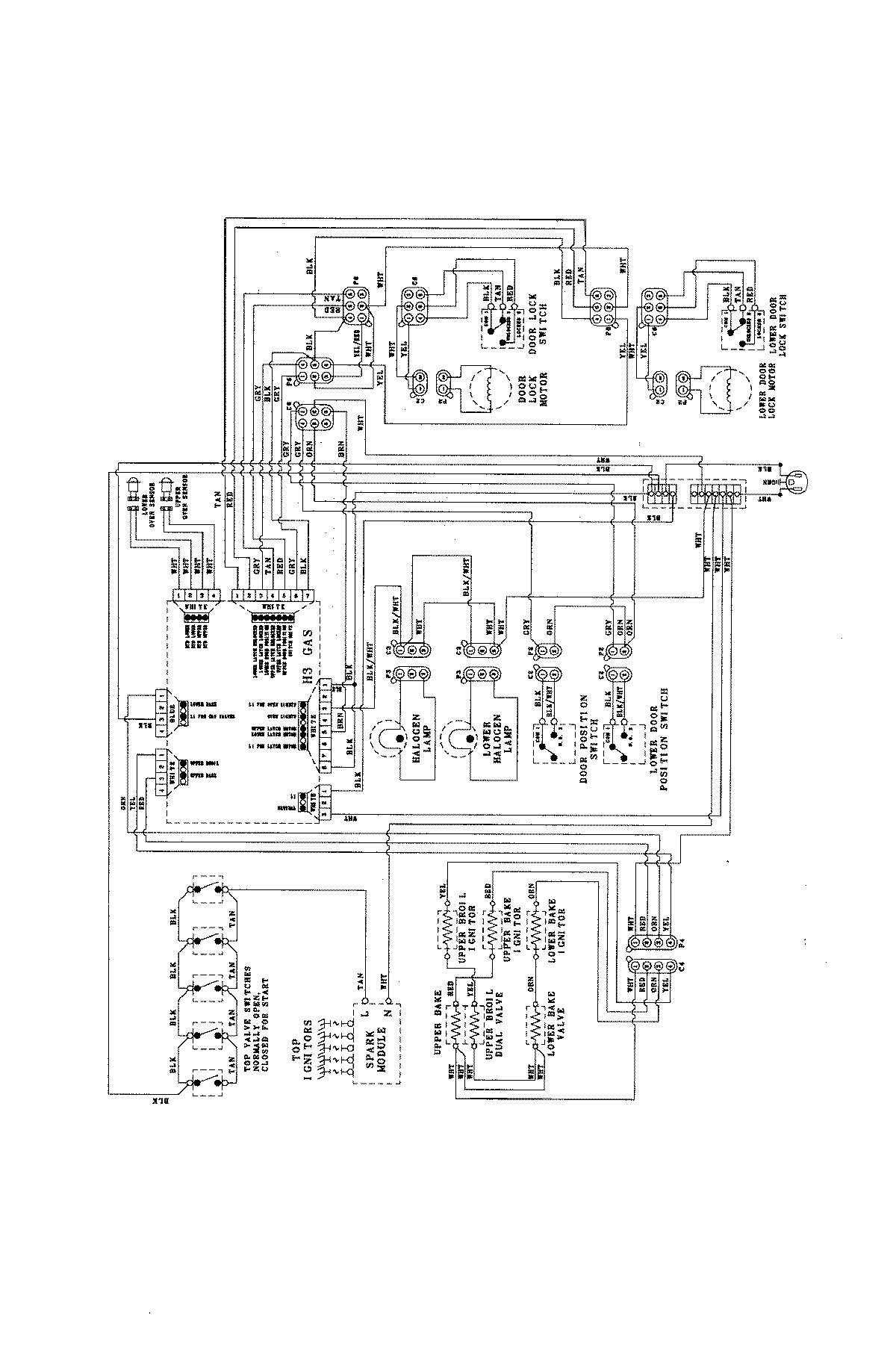
MGR6775BDB 08 – WIRING INFORMATION

MGR6775BDB 08 – WIRING INFORMATION

Products

PositionProduct
NIDIAGRAM, WIRING