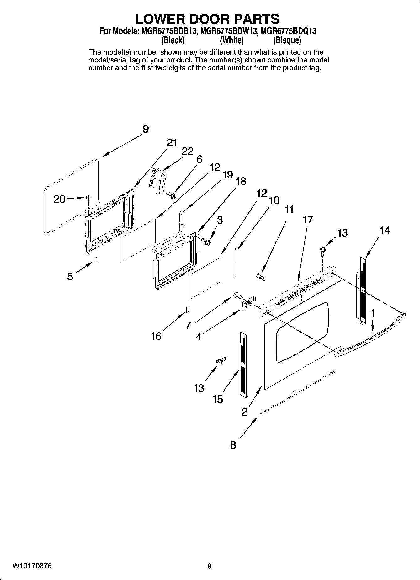
MGR6775BDB13 06 – LOWER DOOR PARTSadmin2025-04-26T09:15:46+00:00MGR6775BDB13 06 – LOWER DOOR PARTS ProductsPositionProduct1WP74011768 Whirlpool Door Handle1WP74011778 Whirlpool Door Handle1WP74011767 Whirlpool Door Handle212002397 Whirlpool Oven Door Glass Kit (Bisque)2MAY 120023962MAY 120023953SCREW43801F832-45 Whirlpool Bracket43801F831-45 Whirlpool Bracket Assembly5WP74005546 Whirlpool RU Spacer6SCREW (10ABX1/4P TR ZN)7WP74006515 Whirlpool Washer Screw8WP3807F708-71 Whirlpool Support8SUPPORT, GLASS (BSQ)8SUPPORT, GLASS (BLK)9GASKT-DOOR OVEN103801F886-51 Whirlpool Mounting Bracket11SCREW, 8 X 1/21274003645 Whirlpool Range Oven Door Inner Glass13WP98008545 Whirlpool Screw14WP3608F116-70 Whirlpool Door Trim14WP3608F116-71 Whirlpool Door Trim14TRIM, DOOR (BSQ-RT)15TRIM, DOOR (BSQ-LT)15WP3608F117-71 Whirlpool Door Trim15WP3608F117-70 Whirlpool Door Trim16WP74009025 Whirlpool Double Sided Tape16WP74009014 Whirlpool Double Tape17MAY 7400968917WP3608F141-71 Whirlpool Door Trim17MAY 74009691183601F373-51 Whirlpool Baffle19INSULATION, OVEN DOOR20NUT, SNAP (ROUND-WHT)20NUT, SNAP (ROUND-BLK)21LINING, DOOR2274011475 Whirlpool Range Oven Door Hinge Assembly