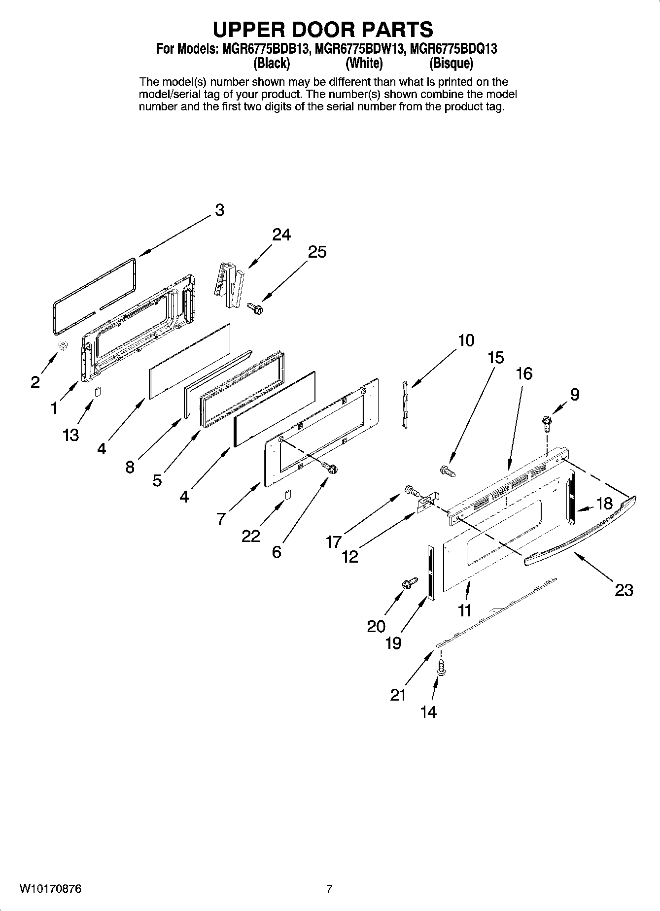
MGR6775BDQ13 05 – UPPER DOOR PARTSadmin2025-04-26T09:14:14+00:00MGR6775BDQ13 05 – UPPER DOOR PARTS ProductsPositionProduct1MAY 740045642NUT, SNAP (ROUND-WHT)2NUT, SNAP (ROUND-BLK)3WP7201P091-60 Whirlpool Door Gasket4MAY 740045665MAY 740045676SCREW7MAY 740099768MAY 740045699WP98008544 Whirlpool Screw Assembly9WP98008545 Whirlpool Screw10MAY 7400459211MAY 1200245411MAY 1200245611MAY 12002455123801F832-45 Whirlpool Bracket123801F831-45 Whirlpool Bracket Assembly13WP74005546 Whirlpool RU Spacer14WP74006515 Whirlpool Washer Screw15SCREW (10ABX1/4P TR ZN)16WP3608F141-71 Whirlpool Door Trim16MAY 7400969116MAY 7400968918MAY 7400974918MAY 7400974518MAY 7400974719MAY 7400974619MAY 7400974819MAY 7400975020WP74009541 Whirlpool Screw Assembly21SUPPORT, GLASS (BSQ)21WP3807F708-71 Whirlpool Support21SUPPORT, GLASS (BLK)22WP74009014 Whirlpool Double Tape22WP74009025 Whirlpool Double Sided Tape23WP74011768 Whirlpool Door Handle23WP74011778 Whirlpool Door Handle23WP74011767 Whirlpool Door Handle24MAY 7400783025SCREW (10-24X5/16-NI)