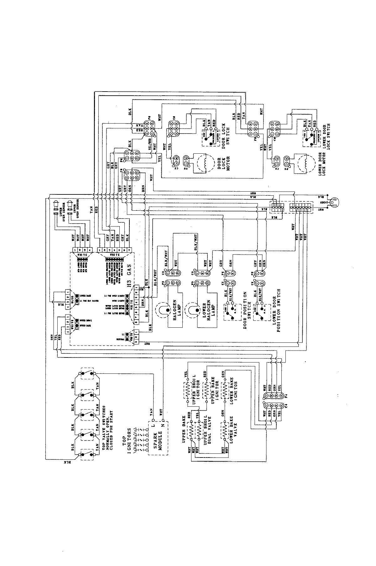
MGR6775BDW 08 – WIRING INFORMATIONadmin2025-04-26T09:15:17+00:00MGR6775BDW 08 – WIRING INFORMATION ProductsPositionProductNIDIAGRAM, WIRING