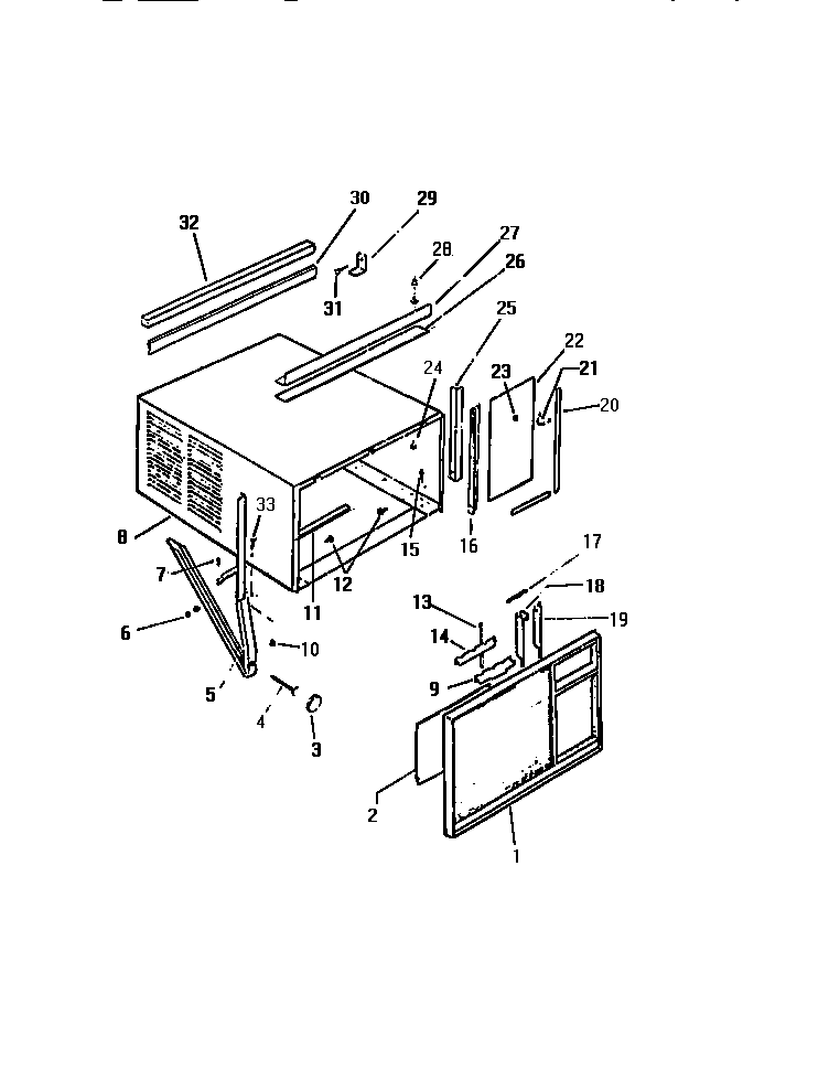
MH525A2SA 02 – CABINET, FRONT, WRAPPERadmin2025-04-26T09:24:30+00:00MH525A2SA 02 – CABINET, FRONT, WRAPPER ProductsPositionProduct*05212INSTL. INSTR (NON-ILLUSTRATED)*05210WCI G150486-18*05209WCI G507383-01*05215WCI G149188-03*05208WCI G502900*05207WCI G513281-14*05200WCI G518611*05214KIT-DUCT WRK ADPT (NON-ILLUSTRATED)*05213KIT-60`` WINDOW (NON-ILLUSTRATED)*05211WCI G150486-12*05216WCI G157696-10*05206SCREW-FRT PNL*05202WCI G518761*05205WCI G517892-611WCI G157582-022WCI G1528683CAP-RUBBER4SCREW-BRACE TO BUILDING5WCI G149392-038WCI G159566-109WCI G512966-1811BRACE-CROSS SUPPORT12SCREW - MOTOR TO DUCT (2)13LINK-HORIZONTAL LOUVER14WCI G513272-1815WCI G10082116WCI G149182-0517LINK, VERTICAL LOUVER18LOUVER, VERTICAL DIRECTIONAL19LOUVER-VERTICAL20WCI G149187-0521WCI G11731322WINDOW PANEL23154419403 Frigidaire Dishwasher Screw24SCREW-MTR DUCT25SUPPORT-SIDES26WCI G149187-0427SUPPORT-TOP28NUT-MOTOR MTG29BRACKET-BASE30WCI G149356-0531WCI G10077332WCI G145337-1033WCI G100824