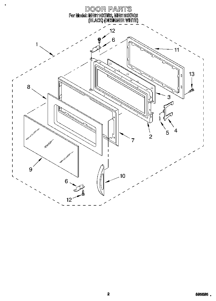
MH6110XBB2 02 – DOOR