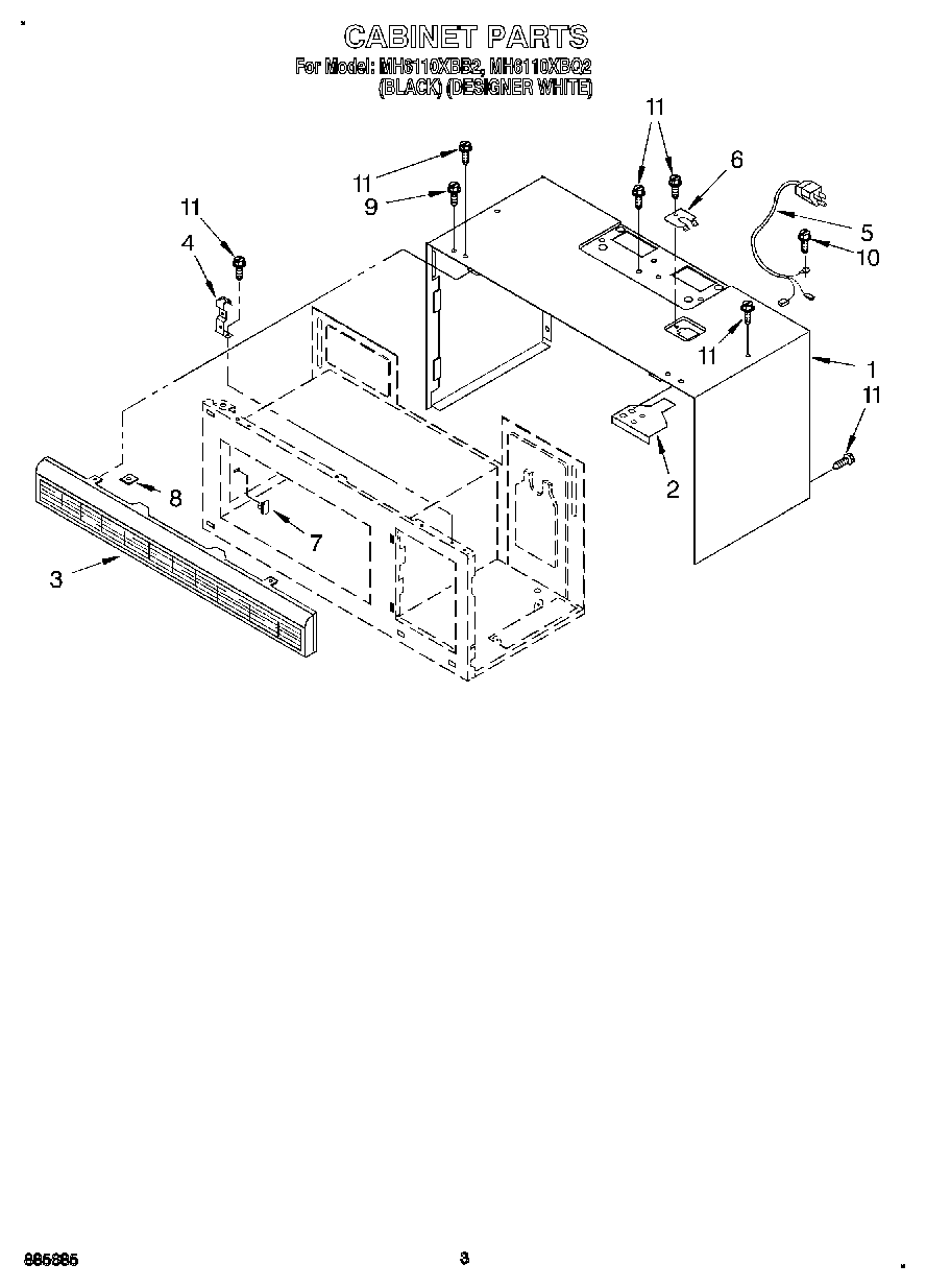
MH6110XBQ2 03 – CABINET