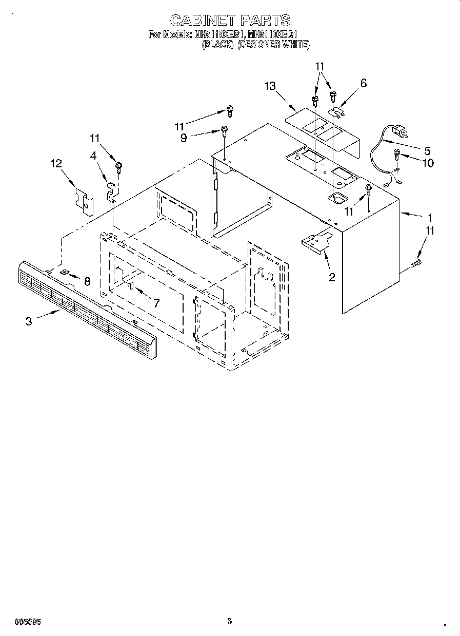
MH6110XEQ1 03 – CABINET