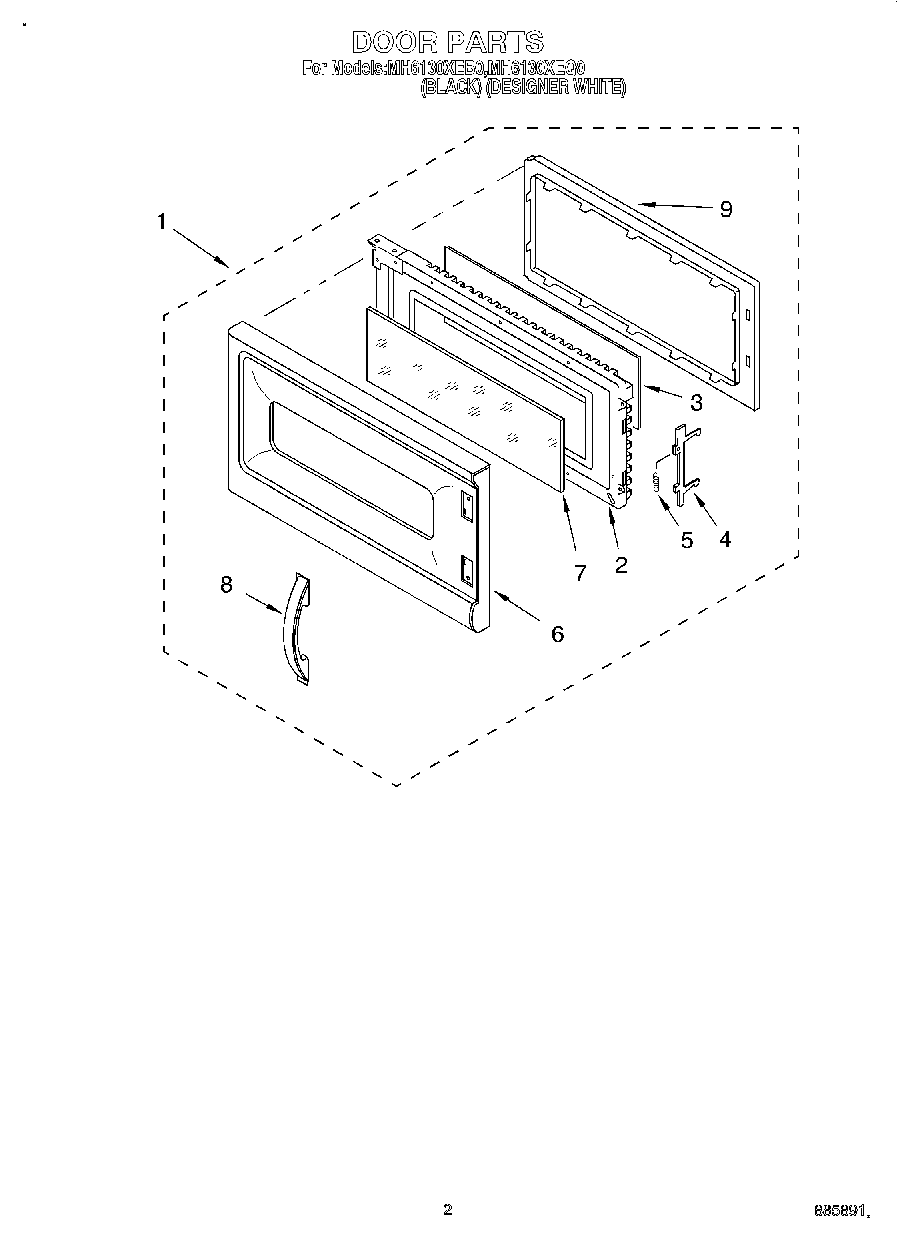
MH6130XEB0 02 – DOOR