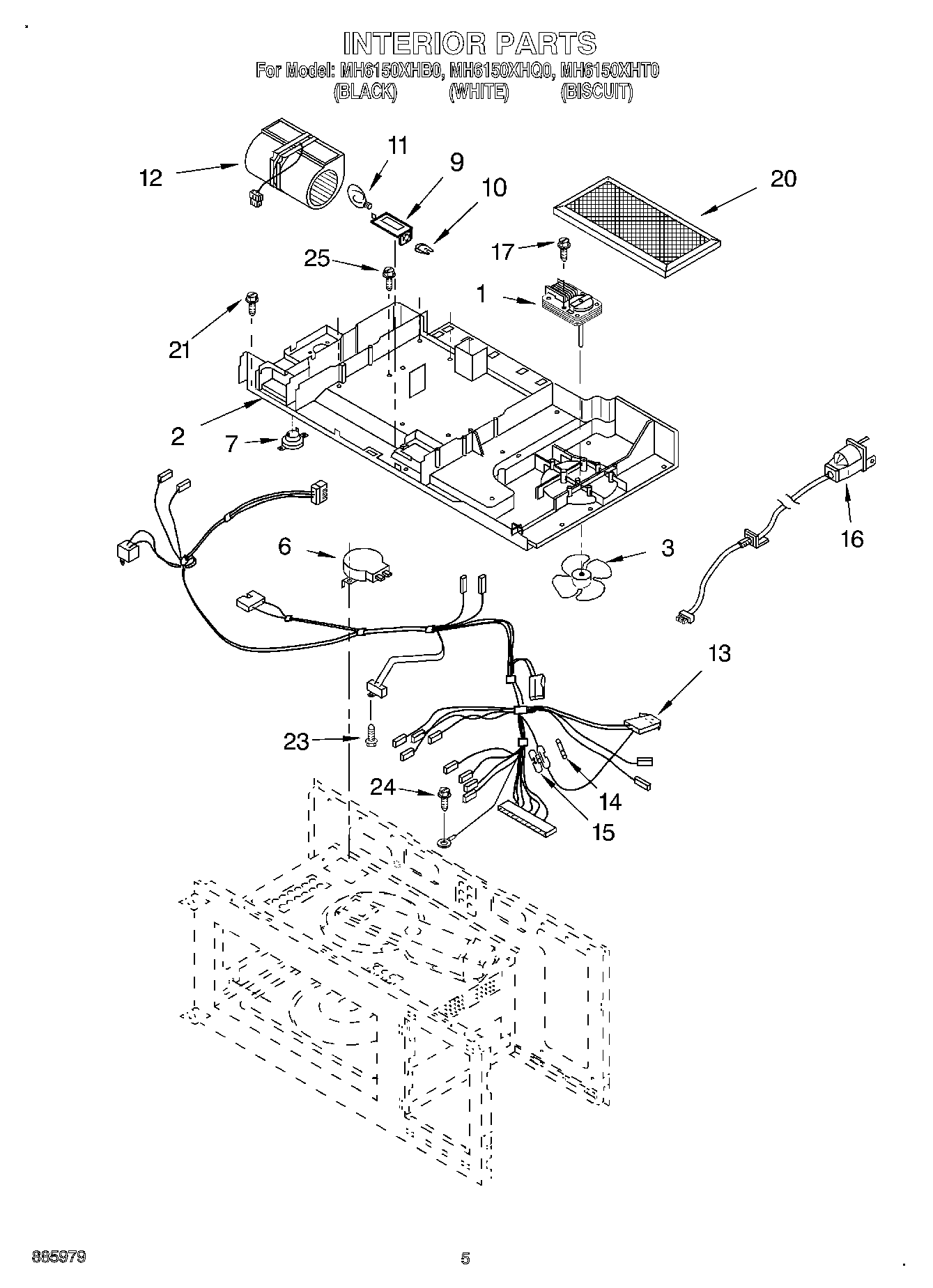
| 2 | Air Duct |
| 3 | 8184292 Whirlpool Microwave Fan Blade |
| 6 | Motor, Fan |
| 7 | W10864742 Whirlpool Microwave Thermostat Fix |
| 9 | Cover |
| 10 | Lamp Holder |
| 11 | Oven, Lamp |
| 12 | Motor, Ventilation |
| 13 | Lead, Wire |
| 14 | WP8183507 Whirlpool Microwave Fuse |
| 15 | Fuse Cap |
| 16 | Power Cord |
| 17 | W10815455 Whirlpool Screw |
| 20 | Charcoal Filter |
| 21 | Screw |
| 23 | Screw |
| 24 | 4344826 Whirlpool Refrigerator Screw |
| 25 | WP482338 Whirlpool Refrigerator Adhesive |
| 25 | Installation Hardware |