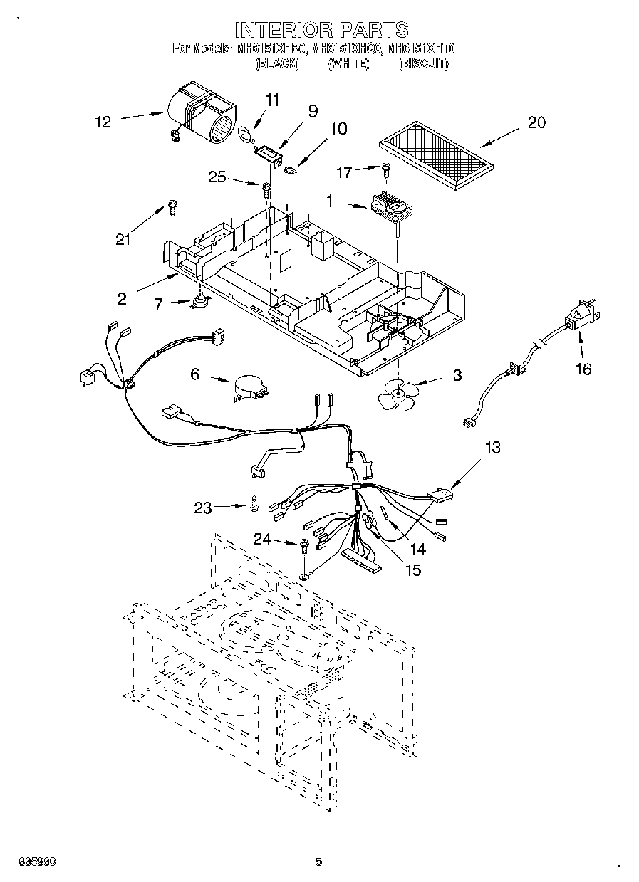
MH6151XHB0 05 – INTERIOR