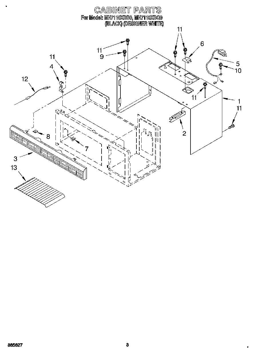
MH7110XBB0 03 – CABINET