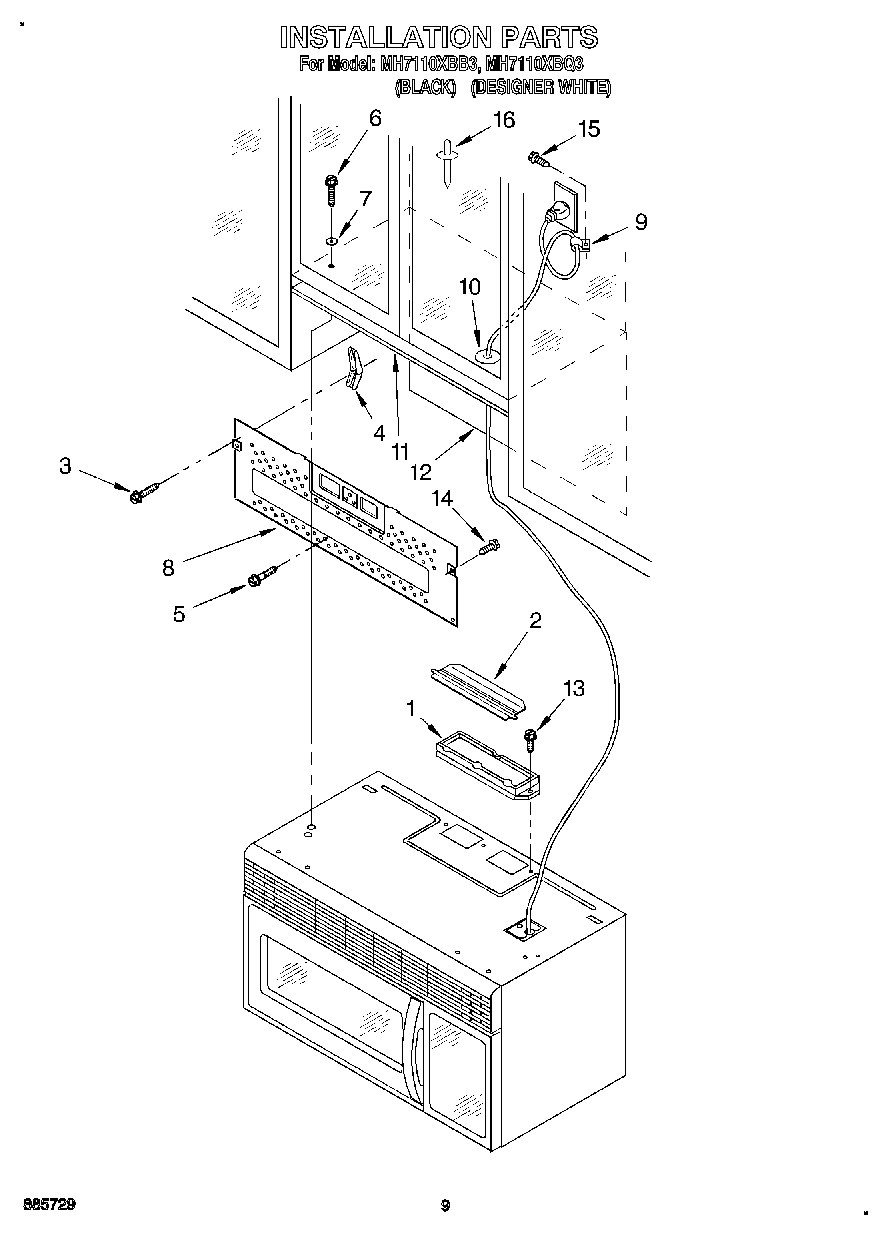
MH7110XBQ3 08 – INSTALLATIONadmin2025-04-26T10:31:53+00:00MH7110XBQ3 08 – INSTALLATION ProductsPositionProduct1Exhaust Adapter2Exhaust Damper3WP8169704 Whirlpool Screw4Toggle Bolt5Lag Screw6Screw7Washer8Plate, Mounting Wing98534021 Whirlpool Clamp10Bushing11Sheet-Top Cabinet Template12Sheet-Wall Template13Screw14W11380570 Whirlpool Microwave Screw15WP98008545 Whirlpool Screw16Pin, Locking