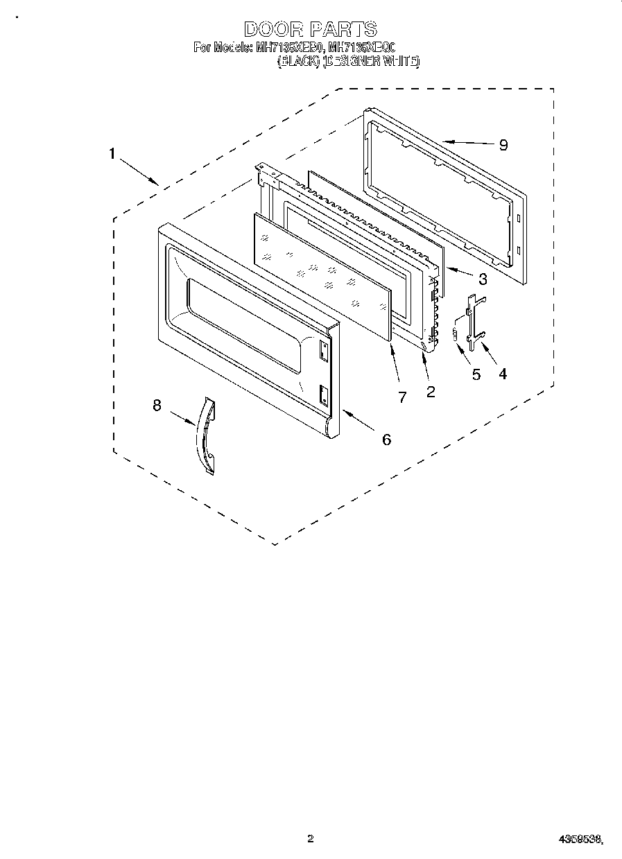
MH7135XEB0 02 – DOOR