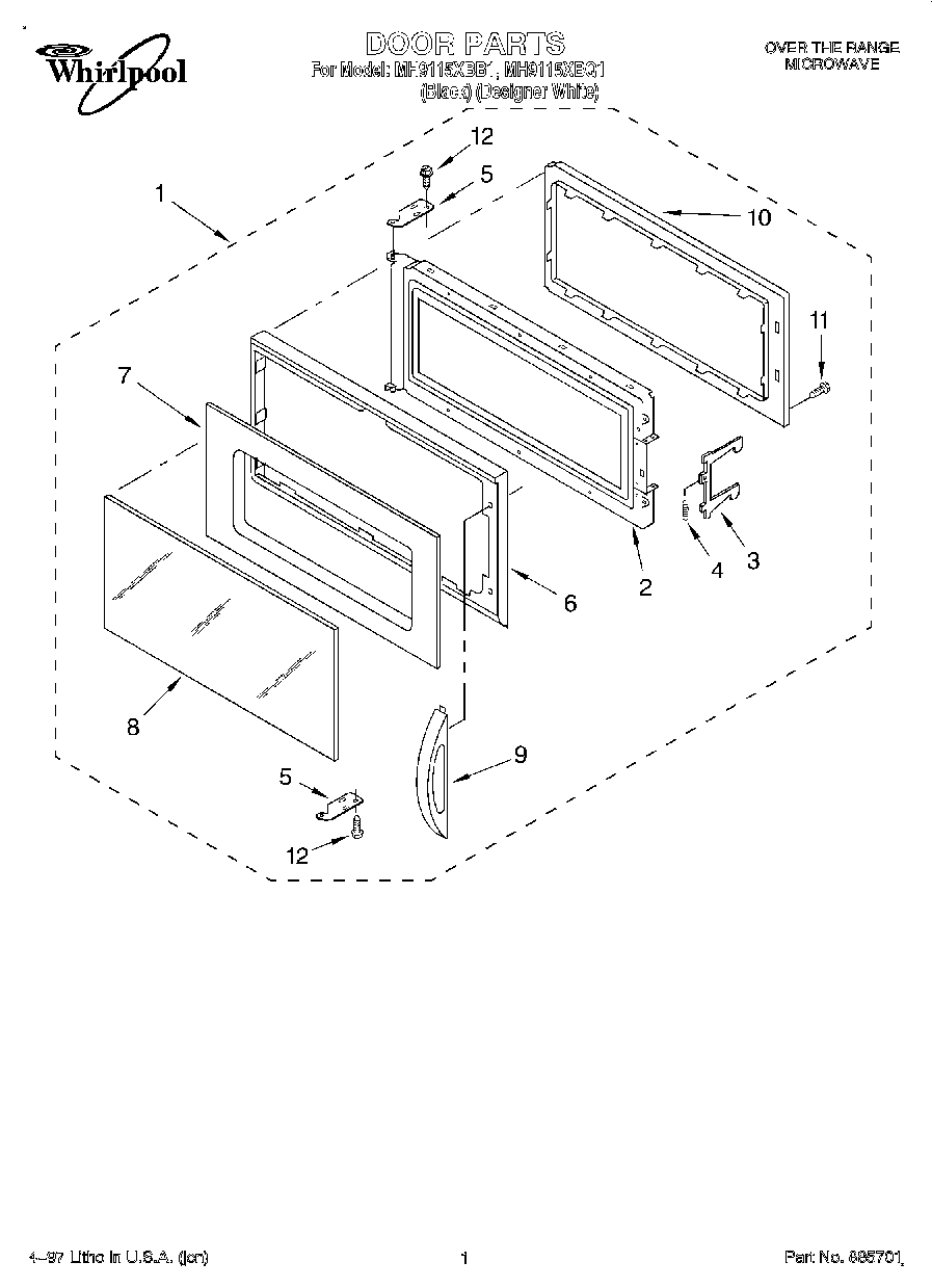
MH9115XBB1 01 – DOOR