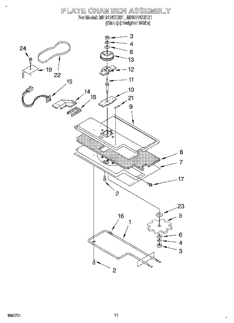
MH9115XBB1 08 – PLATE CHAMBER ASSEMBLYadmin2025-04-26T10:34:13+00:00MH9115XBB1 08 – PLATE CHAMBER ASSEMBLY ProductsPositionProduct1Element2WP3196557 Whirlpool Screw3Nut4WP8533914 Whirlpool Lock5Fan6Washer7Plate, Chamber8Insulation9Plate, Outer10Plate, Bearing11Bearing Assembly12Holder, Bearing13Pulley14Air Tunnel15Sensor16Hanger, Element174344826 Whirlpool Refrigerator Screw18Cushion19Bracket, Sensor21Lug22Belt23Plate, Fan24Screw