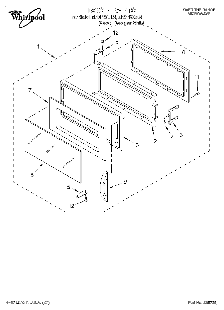
MH9115XBB4 01 – DOOR