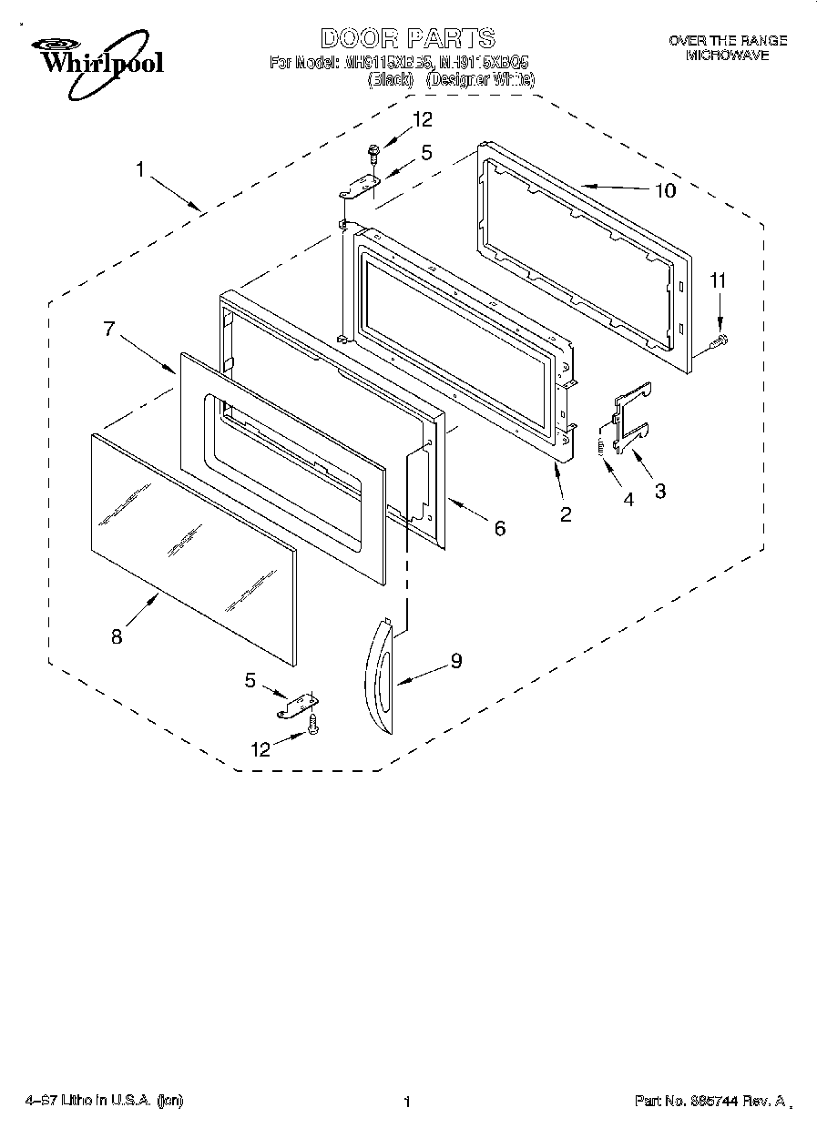
MH9115XBB5 01 – DOOR