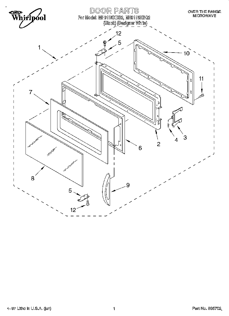
MH9115XBQ2 01 – DOOR