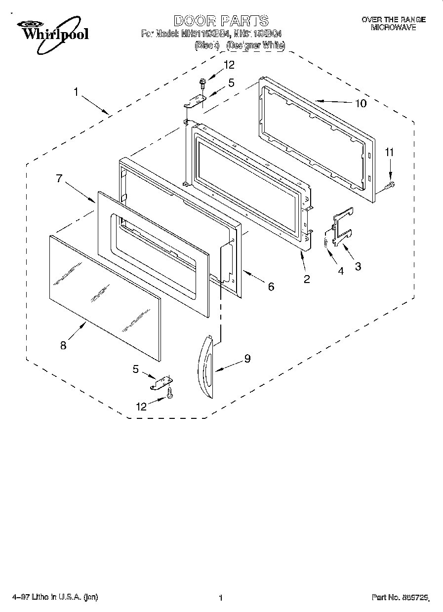
MH9115XBQ4 01 – DOOR