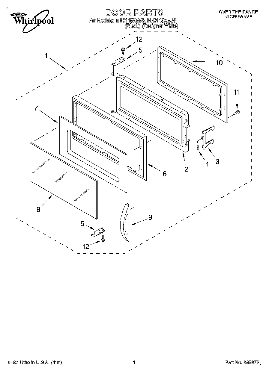
| 1 | Door Assembly (White Model) |
| 1 | Door Assembly (Black Model) |
| 2 | Frame, Door |
| 3 | Latch |
| 4 | Spring, Latch |
| 5 | Plate, Hinge |
| 6 | Panel, Door (White Model) |
| 6 | Panel, Door (Black Model) |
| 7 | Baffle, Door |
| 8 | Glass, Door (White Model) |
| 8 | Glass, Door (Black Model) |
| 9 | Handle, Door (White Model) |
| 9 | Handle, Door (Black Model) |
| 10 | Choke Cover |
| 11 | W11245710 Whirlpool Refrigerator Screw |
| 11 | Screw (White Model) |
| 12 | Screw |