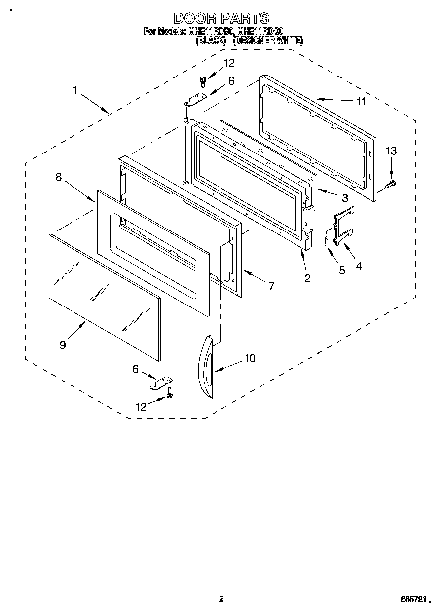
MHE11RDB0 02 – DOOR